Curiosii for ever!
: Car repair manuals for everyone.
Home
>>
BMW
>>
2004
>>
X5 (E53) L6-3.0L (M54)
>>
Repair and Diagnosis
>>
Diagrams
>>
Electrical Diagrams
>>
Body
>>
Audio, Video and Navigation
>>
Navigation (Nav Navigation Computer MKII or Nav Navigation Computer)
>>
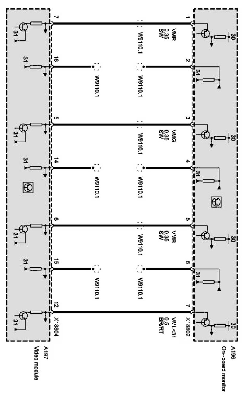
On-Board Monitor/Video Module Interface
On-Board Monitor/Video Module Interface
E53 On-board monitor/video module interface Part 1 Of 1: