Curiosii for ever!
: Car repair manuals for everyone.
Home
>>
BMW
>>
2004
>>
525 (E60) L6-2.5L (M54)
>>
Repair and Diagnosis
>>
Powertrain Management
>>
Computers and Control Systems
>>
Description and Operation
>>
Engine Management
>>
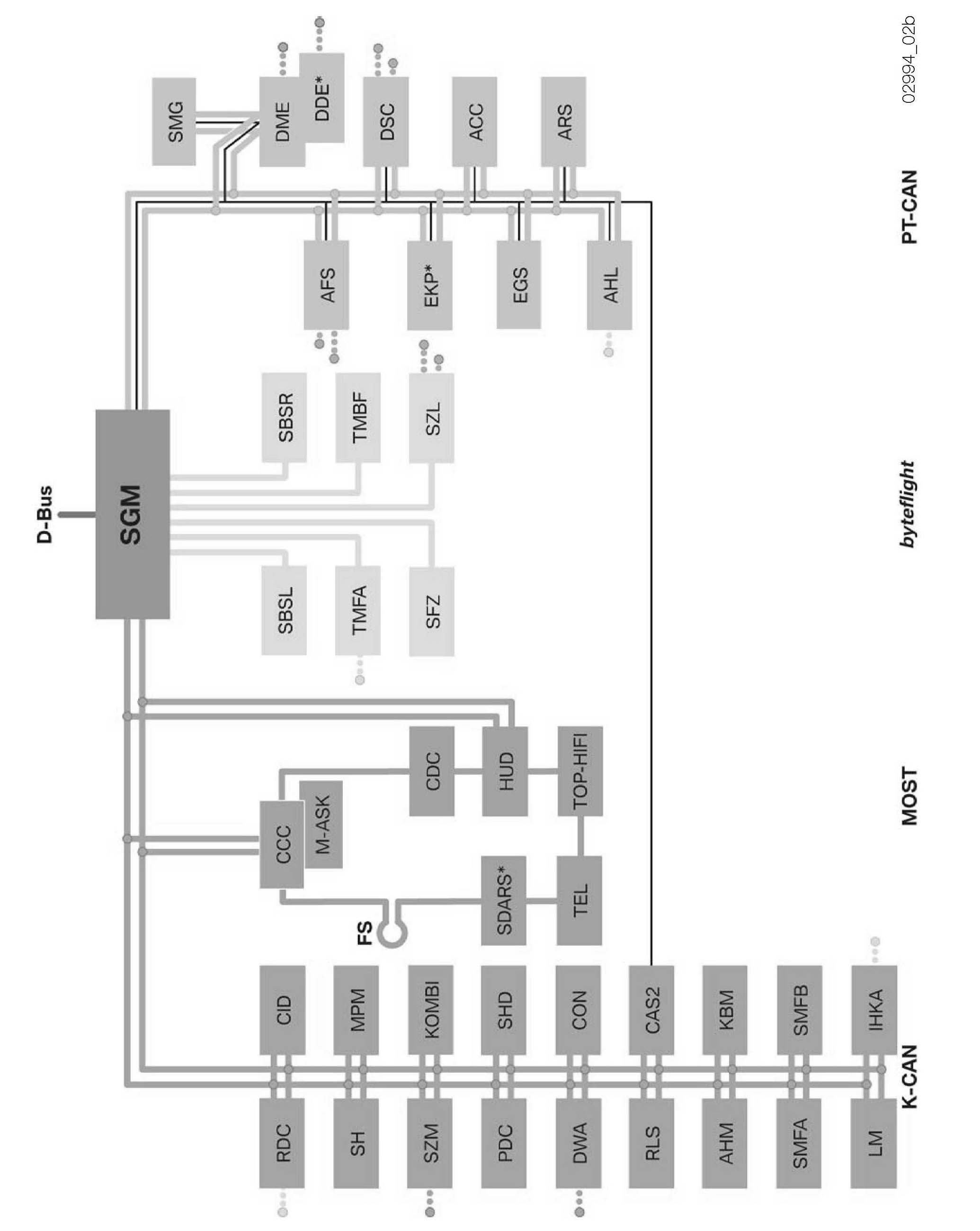
System Components: Bus Overview
System Components: Bus Overview