Curiosii for ever!: Car repair manuals for everyone.

Alignment: Testing and Inspection

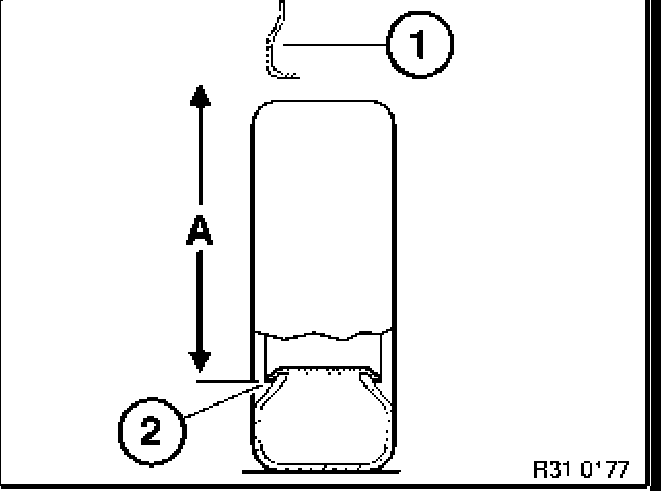
31 33 095 Measuring ride-level height of vehicle
Necessary preliminary tasks:
^ Move vehicle into normal position





Determine actual ride height (A).
Measurement from wheel arch lower edge (1) to rim flange (2) at height of wheel center.
Bump vehicle up and down. Calculate value for each wheel. Derive the mean value for the axle from this. Specified value