Curiosii for ever!
: Car repair manuals for everyone.
Home
>>
BMW
>>
2004
>>
525 (E60) L6-2.5L (M54)
>>
Repair and Diagnosis
>>
Diagrams
>>
Electrical Diagrams
>>
Body
>>
Lighting
>>
Directional Headlight/Beam Height Control (AHL Adaptive Directional Headlights Without LM2 Light Module 2 W/ Adaptive Headligh
>>
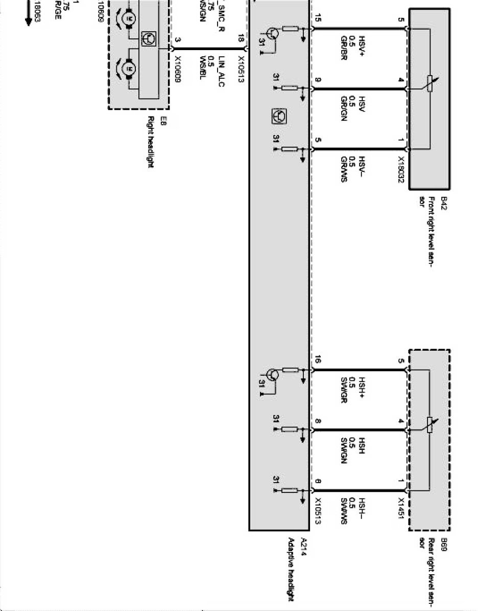
Adaptive Headlight (5 Series With AHL Adaptive Directional Headlights)
Adaptive Headlight (5 Series With AHL Adaptive Directional Headlights)
Adaptive directional headlights Part 1:
Adaptive directional headlights Part 2: