Curiosii for ever!
: Car repair manuals for everyone.
Home
>>
BMW
>>
2004
>>
320i (E46) (CANADA) L6-2.2L M54
>>
Repair and Diagnosis
>>
Diagrams
>>
Electrical Diagrams
>>
Body
>>
Locking and Security Functions
>>
Power Window
>>
Power Windows, Front
>>
Power-Window Mechanism, Driver's Side, Front
>>
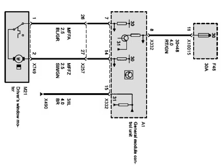
Power Window Drive, Front Driver's Side (Convertible Up to 09/03)
Power Window Drive, Front Driver's Side (Convertible Up to 09/03)
Power window drive, front driver's side: