Curiosii for ever!
: Car repair manuals for everyone.
Home
>>
BMW
>>
2003
>>
M3 Coupe (E46) L6-3.2L (S54)
>>
Repair and Diagnosis
>>
Diagrams
>>
Electrical Diagrams
>>
Drive
>>
Transmission Control
>>
Transmission Management SMG (SMG Sequential M Transmission)
>>
Control Module
>>
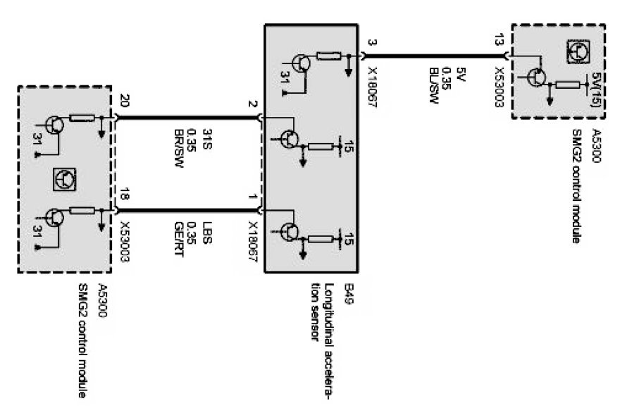
Sensor, Longitudinal Acceleration
>>
Longitudinal Acceleration Sensor (Up to 09/02)
Longitudinal Acceleration Sensor (Up to 09/02)
Longitudinal Acceleration Sensor: