Curiosii for ever!
: Car repair manuals for everyone.
Home
>>
BMW
>>
2003
>>
745Li (E66) V8-4.4L (N62)
>>
Repair and Diagnosis
>>
Diagrams
>>
Electrical Diagrams
>>
Body
>>
Audio, Video, Navigation (MOST Network)
>>
Television (VM Video Module)
>>
Image Processing
>>
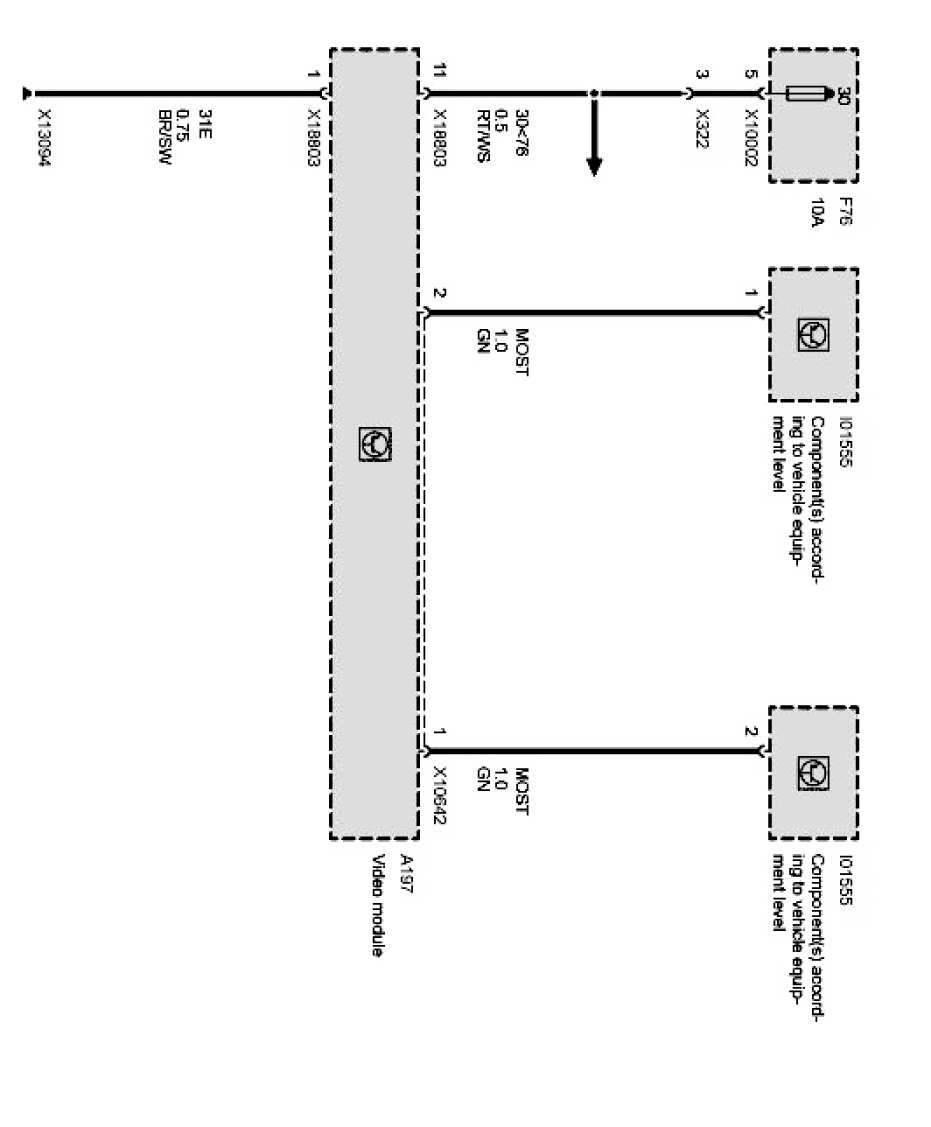
Video Module, Supply
Video Module, Supply
Video module supply: