Curiosii for ever!
: Car repair manuals for everyone.
Home
>>
BMW
>>
2003
>>
330Ci Convertible (E46) L6-3.0L (M54)
>>
Repair and Diagnosis
>>
Diagrams
>>
Electrical Diagrams
>>
Body
>>
Restraint and Rollover Protection Functions
>>
Multiple Restraint System (MRS Multiple Restraint System III/IV)
>>
Crash Detection
>>
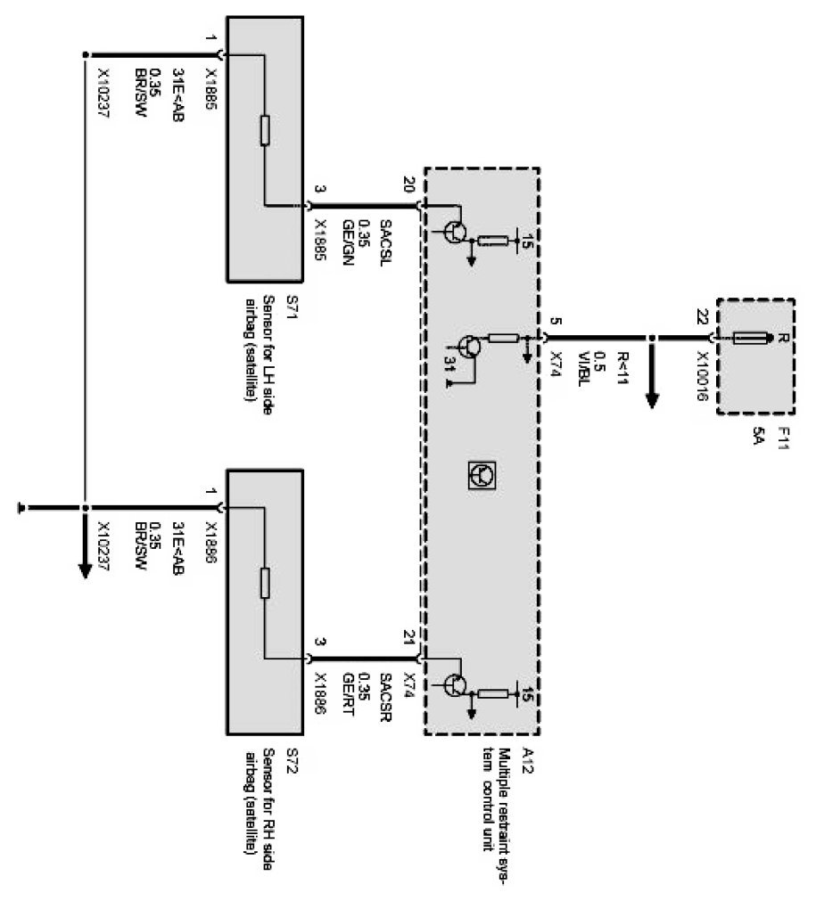
Left Impact Sensor
Left Impact Sensor
Front sensor, side airbag: