Curiosii for ever!
: Car repair manuals for everyone.
Home
>>
BMW
>>
2002
>>
M3 Convertible (E46) L6-3.2L (S54)
>>
Repair and Diagnosis
>>
Diagrams
>>
Electrical Diagrams
>>
Body
>>
Locking and Security Functions
>>
Power Window
>>
Power Windows, Front
>>
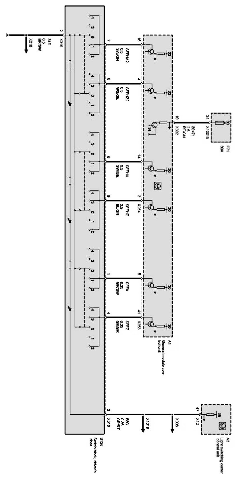
Power Windows, Central Switch (Convertible)
Power Windows, Central Switch (Convertible)
Power-window switch, driver: