Curiosii for ever!
: Car repair manuals for everyone.
Home
>>
BMW
>>
2002
>>
M3 Convertible (E46) L6-3.2L (S54)
>>
Repair and Diagnosis
>>
Diagrams
>>
Electrical Diagrams
>>
Body
>>
Lighting
>>
Trailer Lighting
>>
Trailer Module
>>
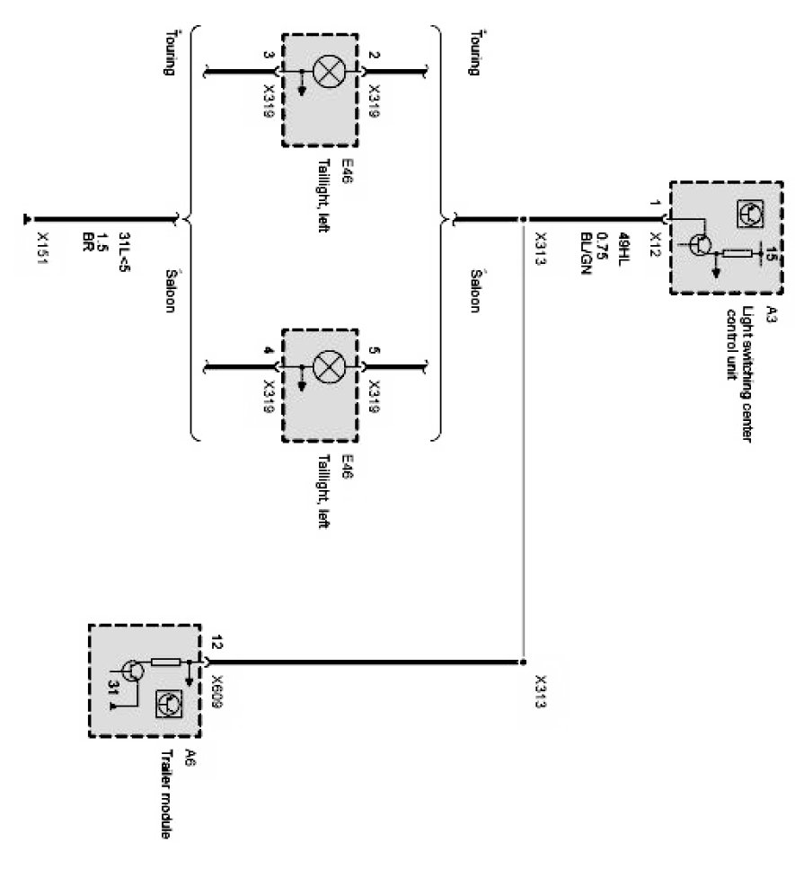
Left Turn Signal Lamp (Up to 09/01)
Left Turn Signal Lamp (Up to 09/01)