Measuring Vehicle Height Setting
Measuring Vehicle Height Setting
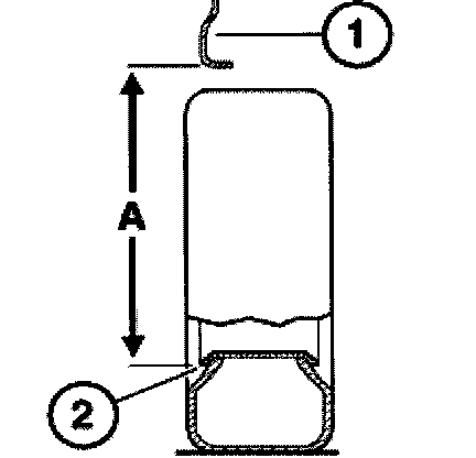
Determine actual ride-level height (A)-measurement from wheel arch lower edge (1) to rim flange (2) at wheel center height.
Determine mean value in each case for each wheel after previously raising and lowering vehicle body and establish mean value for axle.
If there is a deviation from specified value, refer to specifications.