Curiosii for ever!
: Car repair manuals for everyone.
Home
>>
BMW
>>
2001
>>
M3 Convertible (E46) L6-3.2L (S54)
>>
Repair and Diagnosis
>>
Diagrams
>>
Electrical Diagrams
>>
Chassis
>>
Wheel Slip Control System
>>
DSC 5.7 (DSC Dynamic Stability Control (All-Wheel Drive)
>>
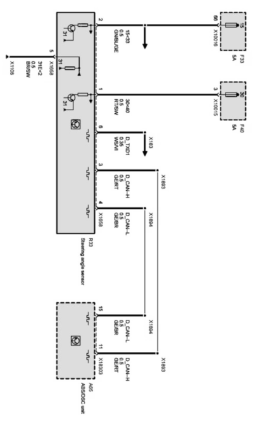
Steering Angle Sensor (LWS Steering Angle Sensor)
>>
Steering Angle Sensor (As of 06/00 Up to 09/01 With DSC Dynamic Stability Control MK60)
Steering Angle Sensor (As of 06/00 Up to 09/01 With DSC Dynamic Stability Control MK60)