Curiosii for ever!
: Car repair manuals for everyone.
Home
>>
BMW
>>
2001
>>
M3 Convertible (E46) L6-3.2L (S54)
>>
Repair and Diagnosis
>>
Diagrams
>>
Electrical Diagrams
>>
Body
>>
Restraint and Rollover Protection Functions
>>
Multiple Restraint System (MRS Multiple Restraint System III/IV)
>>
Crash Detection
>>
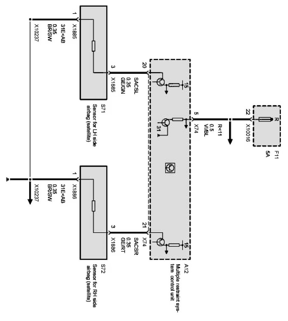
Right Impact Sensor
Right Impact Sensor
Front sensor, side airbag: