Curiosii for ever!
: Car repair manuals for everyone.
Home
>>
BMW
>>
2001
>>
M3 Convertible (E46) L6-3.2L (S54)
>>
Repair and Diagnosis
>>
Diagrams
>>
Electrical Diagrams
>>
Body
>>
Locking and Security Functions
>>
General Module
>>
Power, K-Bus
Power, K-Bus
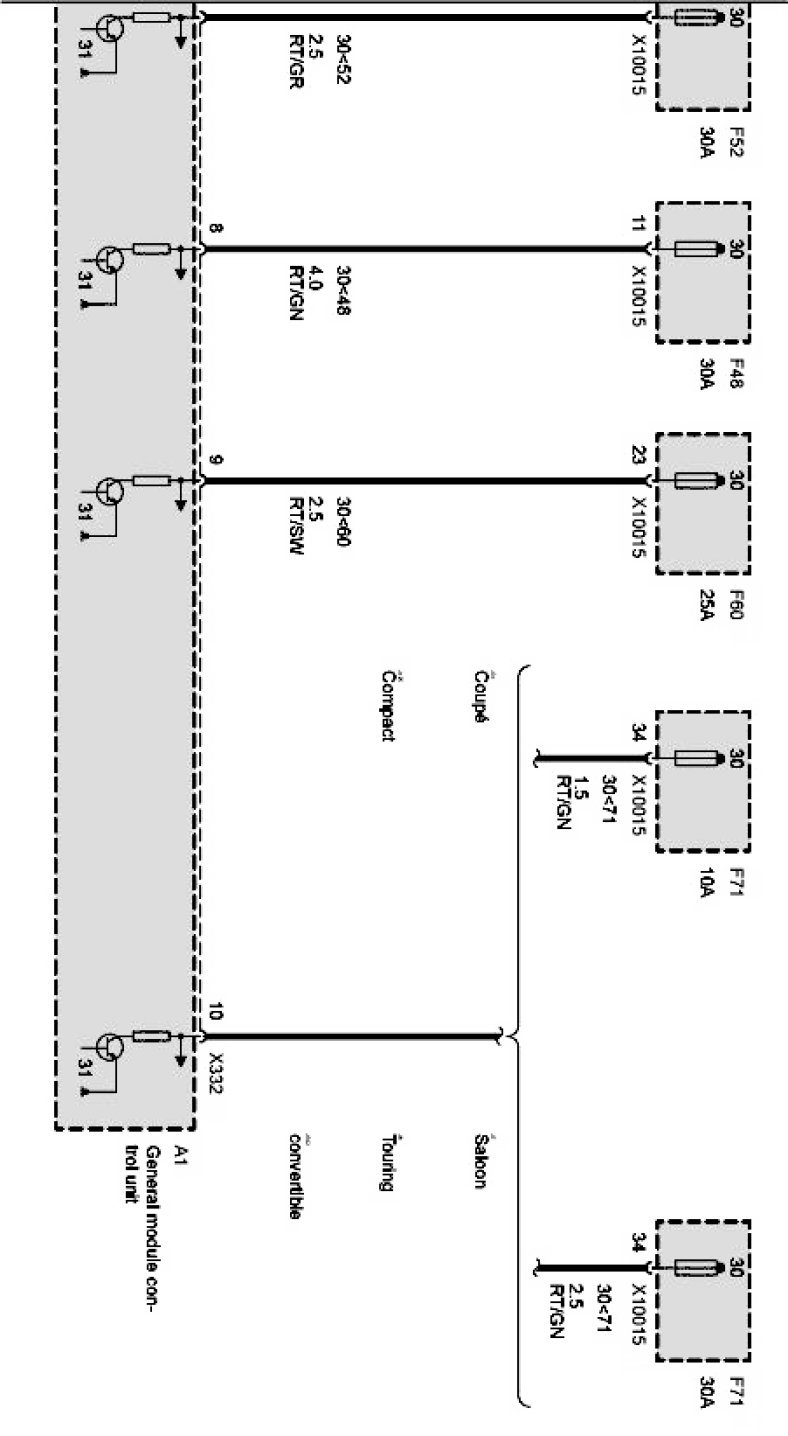
Power supply Part 1:
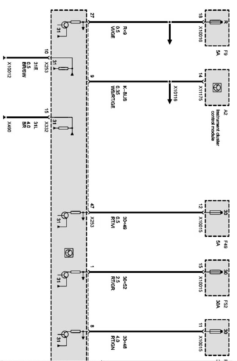
Power supply Part 2: