Curiosii for ever!
: Car repair manuals for everyone.
Home
>>
BMW
>>
2001
>>
M3 Convertible (E46) L6-3.2L (S54)
>>
Repair and Diagnosis
>>
Diagrams
>>
Electrical Diagrams
>>
Body
>>
Heating and A/C Functions (IHKA Integrated Automatic Heating/A/C or IHKR Integrated Heating/A/C Regulation or Heater Control)
>>
Rear Window Defogger
>>
Unloader Relay, Rear Window Defogger
>>
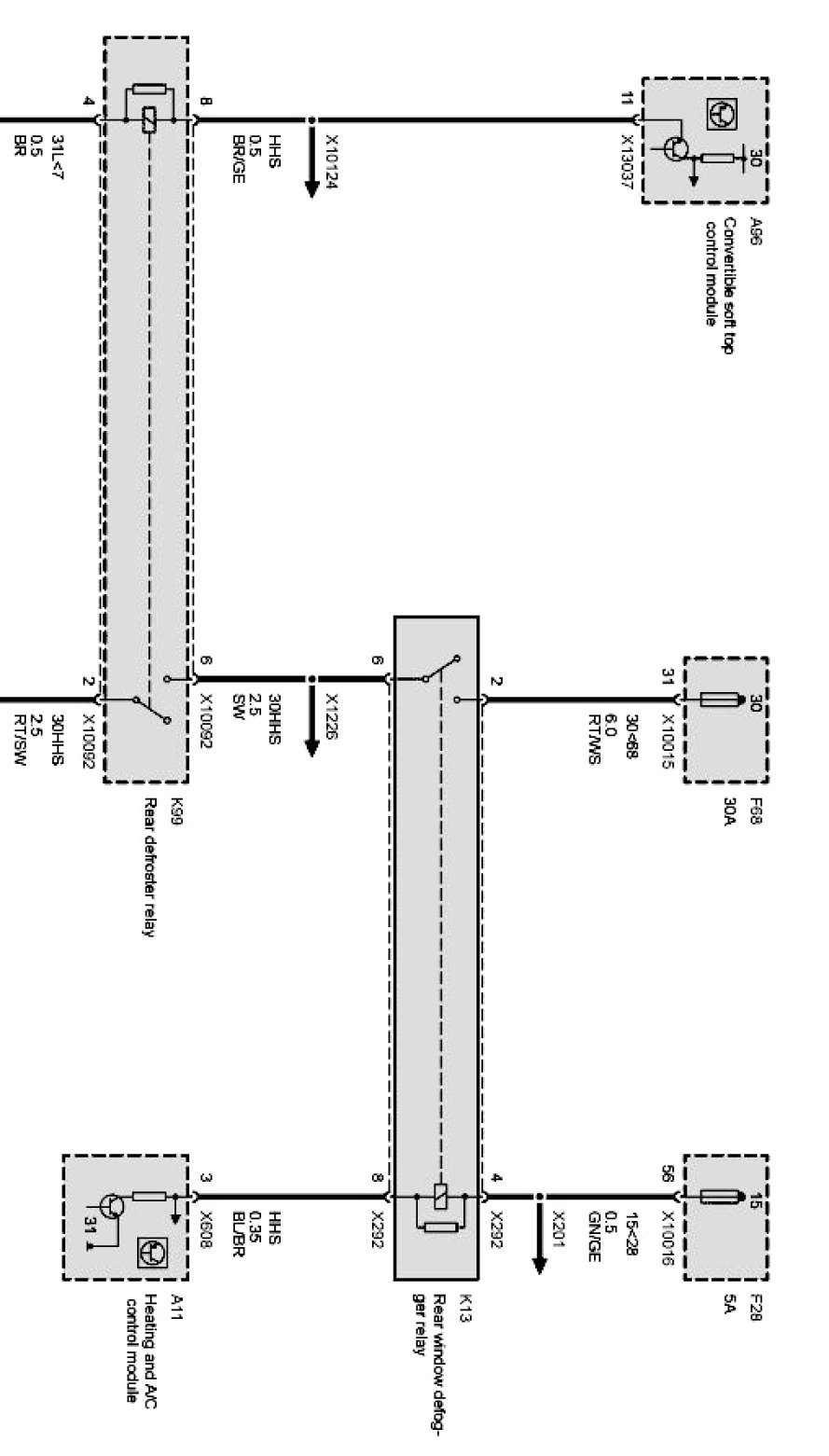
Rear Window Defogger (Convertible With CVM Convertible-Top Module Up to 03/01)
Rear Window Defogger (Convertible With CVM Convertible-Top Module Up to 03/01)