Curiosii for ever!
: Car repair manuals for everyone.
Home
>>
BMW
>>
2001
>>
320i (E46) (CANADA) L6-2.2L M54
>>
Repair and Diagnosis
>>
Diagrams
>>
Electrical Diagrams
>>
Drive
>>
Transmission Control
>>
Transmission Control GS8.60.0 (EGS Transmission Control 8.60.0 or EGS Transmission Control 5HP)
>>
Neutral Detection, Position Switch
>>
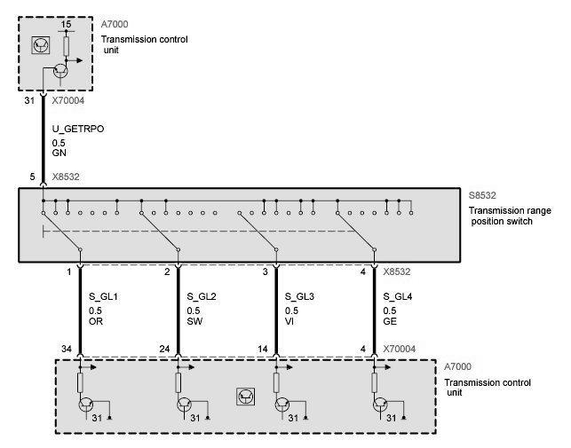
Transmission Range Position Switch (DME Digital Motor Electronics MS45)
Transmission Range Position Switch (DME Digital Motor Electronics MS45)
Gear Position Switch: