Curiosii for ever!
: Car repair manuals for everyone.
Home
>>
BMW
>>
2001
>>
320i (E46) (CANADA) L6-2.2L M54
>>
Repair and Diagnosis
>>
Diagrams
>>
Electrical Diagrams
>>
Chassis
>>
Wheel Slip Control System
>>
ASC MK20 (ASC MK20 Automatic Stability Control)
>>
Brake Light Switch
>>
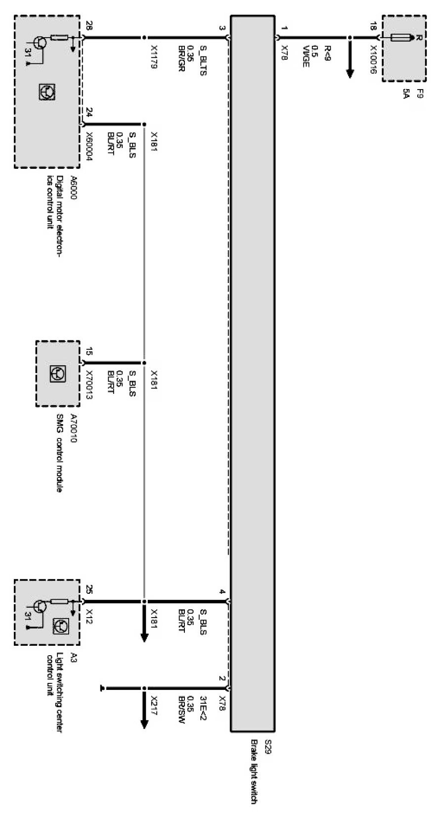
Brake Light Switch (DME Motor Electronics MS43 With SMG Sequential Manual Transmission)
Brake Light Switch (DME Motor Electronics MS43 With SMG Sequential Manual Transmission)
Brake-light Switch: