Curiosii for ever!
: Car repair manuals for everyone.
Home
>>
BMW
>>
2001
>>
320i (E46) (CANADA) L6-2.2L M54
>>
Repair and Diagnosis
>>
Diagrams
>>
Electrical Diagrams
>>
Body
>>
Lighting
>>
Trailer Lighting
>>
Trailer Module
>>
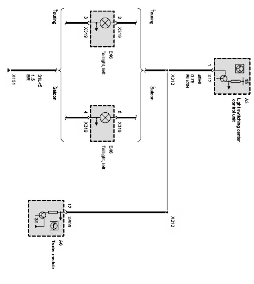
Left Turn Signal Lamp (Up to 09/01)
Left Turn Signal Lamp (Up to 09/01)