Engine Coolant Temperature Sensor, Checking
Engine Coolant Temperature Sensor, Checking
Observe all safety precautions: => [ Safety Precautions ] Safety Precautions
View clean working conditions: => [ Clean Working Conditions ] Clean Working Conditions
Prior to repair work, perform a preliminary check to verify the condition. Refer to => [ Preliminary Check ] Preliminary Check.
Use only gold-plated terminals when servicing any component with gold-plated electrical harness connector terminals.
For wiring diagrams, component locations, and connector views, refer to the applicable wiring diagram.
Special tools, testers and auxiliary items required
• Generic scan tool
• Multimeter
• Wiring diagram
Test requirements
• The Motronic Engine Control Module (ECM) (J623) fuses OK.
• Battery voltage at least 12.5 volts.
• All electrical consumers such as, lights and rear window defroster, switched off.
• Vehicles with automatic transmission, shift selector lever into position "P" or "N".
• A/C switched off.
• Ground (GND) connections between engine/transmission/chassis OK.
• Ignition switched off.
• Engine cold.
Test procedure
Start diagnosis
- Connect the scan tool.
- Switch the ignition on.
- Using the scan tool, check the coolant temperature:
If the specified value is not obtained:
- Continue test according to the following table:
If the specified value was obtained:
- Start the engine and let it run at idle.
The temperature value must increase uniformly in increments of 1.0° C.
If the engine shows problems in certain temperature ranges and if the temperature does not climb uniformly, the temperature signal is intermittent.
- Replace the the Engine Coolant Temperature (ECT) Sensor (G62). Refer to the appropriate service information
Checking internal resistance
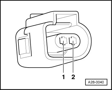
- Disconnect the Engine Coolant Temperature (ECT) Sensor (G62) electrical harness connector - arrow -.
- Using a multimeter, check the Engine Coolant Temperature (ECT) Sensor (G62) terminals 1 to 2 for resistance.
Use the chart below for the specified values:
Specified values:
If any of the specified values was not obtained:
- Replace the Engine Coolant Temperature (ECT) Sensor (G62). Refer to appropriate service information.
°Testing if display is approx. - 40.0 C
- Disconnect the Engine Coolant Temperature (ECT) Sensor (G62) electrical harness connector - arrow -.
- Using a jumper wire, connect the Engine Coolant Temperature (ECT) Sensor (G62) electrical harness connector terminals 1 to 2.
- Check the value indicated on the scan tool display.
If the value jumps to approx. 140.0° C
- End diagnosis and switch the ignition off.
- Replace the Engine Coolant Temperature (ECT) Sensor (G62). Refer to appropriate service information.
If indication remains at approx. -40.0° C:
°Testing if display approx. 140.0 C
- Disconnect the Engine Coolant Temperature (ECT) Sensor (G62) electrical harness connector - arrow -.
If indication jumps to approx. -40.0° C:
- End diagnosis and switch ignition off.
- Replace the Engine Coolant Temperature (ECT) Sensor (G62). Refer to appropriate service information.
If indication remains at approx. 140.0° C:
Checking wiring
If the manufacturers test box is being used, perform the following step.
- Install the test box.
If the manufacturers test box is not being used, perform the following step.
- Remove the Motronic Engine Control Module (ECM) (J623). Refer to appropriate service information.
- Using a multimeter, check the Engine Coolant Temperature (ECT) Sensor (G62) electrical harness connector terminals to the Motronic Engine Control Module (ECM) (J623) electrical harness connector T60 terminals for an open circuit according to the wiring diagram.
Specified value: 1.5 ohms Max.
If the specification was not obtained:
- Check the wiring for a short circuit to Battery (+), or an open circuit.
- Check the electrical harness connector for damage, corrosion, loose or broken terminals.
- If necessary, repair the faulty wiring connection.
If no malfunction is detected in the wiring:
- Replace the Motronic Engine Control Module (ECM) (J623). Refer to appropriate service information.
Final procedures
After the repair work, the following work steps must be performed in the following sequence:
1. Check the DTC memory. Refer to => [ Diagnostic Mode 03 - Read DTC Memory ] Diagnostic Modes 01 - 0A.
2. If necessary, erase the DTC memory. Refer to => [ Diagnostic Mode 04 - Erase DTC Memory ] Diagnostic Modes 01 - 0A.
3. If the DTC memory was erased, generate readiness code. Refer to => [ Readiness Code ] Monitors, Trips, Drive Cycles and Readiness Codes.