Curiosii for ever!: Car repair manuals for everyone.

Camshaft Position Sensor 4, Checking







Camshaft Position Sensor 4, Checking

Observe all safety precautions: => [ Safety Precautions ] Safety Precautions

View clean working conditions: => [ Clean Working Conditions ] Clean Working Conditions

Use only gold-plated terminals when servicing any component with gold-plated electrical harness connector terminals.

For wiring diagrams, component locations, and connector views, Refer to the applicable wiring diagram.

Special tools, testers and auxiliary items required

Multimeter

Wiring diagram

Test requirements

The Motronic Engine Control Module (ECM) (J623) fuses OK.





Battery voltage at least 12.5 volts.

All electrical consumers such as, lights and rear window defroster, switched off.

Vehicles with automatic transmission, shift selector lever into position "P" or "N".

A/C switched off.

Ground (GND) connections between engine/transmission/chassis OK.

Ignition switched off.

Test procedure

- Perform a preliminary check to verify the customers complaint. Refer to => [ Preliminary Check ] Preliminary Check

Start diagnosis

- Remove the engine cover with air filter. Refer to appropriate service information.





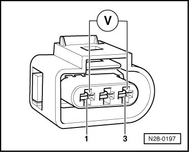
- Disconnect the Camshaft Position (CMP) Sensor 4 (G301) electrical harness connector - 10 -.





- Switch the ignition on.

- Using a multimeter, Check the Camshaft Position (CMP) Sensor 4 (G301) electrical harness connector terminals 1 to 3 for voltage.





Specified value: about 5.0 V

- Switch the ignition off.

If the specification was not obtained:

Checking wiring

If the manufacturers test box is being used, perform the following step.

- Install the test box.

If the manufacturers test box is not being used, perform the following step.

- Remove the Motronic Engine Control Module (ECM) (J623). Refer to appropriate service information.

- Using a multimeter, Check the Camshaft Position (CMP) Sensor 4 (G301) electrical harness connector to the Motronic Engine Control Module (ECM) electrical harness connector T60 for an open circuit.









Specified value: 1.5 ohms Max.

If the specified value was not obtained:

- Check the wiring for a short circuit to Battery (+), or an open circuit.

- Check the wiring connection for damage, corrosion, loose or broken terminals.

- If necessary, repair the faulty wiring connection.



If no malfunction is found in the wiring and voltage supply was OK:

- Replace the Camshaft Position (CMP) Sensor 4 (G301). Refer to appropriate service information.

If no malfunction is found in the wiring and voltage supply was not OK:

- Replace the Motronic Engine Control Module (ECM) (J623). Refer to appropriate service information.

- Install the engine cover with air filter. Refer to appropriate service information.

Final procedures

After the repair work, the following work steps must be performed in the following sequence:

1. Check the DTC memory => [ Diagnostic Mode 03 - Read DTC Memory ] Diagnostic Modes 01 - 0A.

2. If necessary, erase the DTC memory => [ Diagnostic Mode 04 - Erase DTC Memory ] Diagnostic Modes 01 - 0A.

3. If the DTC memory was erased, generate readiness code => [ Readiness Code ] Monitors, Trips, Drive Cycles and Readiness Codes.