Curiosii for ever!: Car repair manuals for everyone.

Connectors, External Audio Source Interface Connections







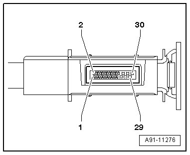
External Audio Source Interface Connections

Unlisted connector terminals are not assigned.

30-pin connector





All pins are connected to the information electronics control module 1 (J794).

1 Left LF-In
2 Right LF-In
3 LF ground
4 LF-In ground shielding
13 iPod data
14 iPod data
16 iPod recognized
17 D (+)
18 D (-)
21 Detect
22 Ground
24 FBAS wire (-)
25 USB (ground)
27 FBAS wire (+)
28 USB (+5V)