Curiosii for ever!: Car repair manuals for everyone.

Air Flow Meter/Sensor: Testing and Inspection






Mass Air Flow Sensor, Checking

Use only gold-plated terminals when servicing terminals in harness connector of Mass Air Flow (MAF) Sensor (G70).

Special tools, testers and auxiliary items required

Multimeter.

Wiring diagram.

Test requirements

Fuse (SB3) OK.

Fuel Pump (FP) 2 Relay (J49) OK.

Battery voltage at least 12.5 volts.

All electrical consumers such as, lights and rear window defroster, switched off.

Vehicles with automatic transmission, shift selector lever into position "P" or "N".

A/C switched off.

Ground (GND) connections between engine/transmission/chassis OK.

Coolant Temperature at least 80° C.

Ignition switched off.

Test procedure

- Perform a preliminary check to verify the customers complaint. Diagnostic Mode 09 - Read Vehicle Information.

Start diagnosis

- Connect the scan tool.

- Start engine and let it run at idle.

- Using the scan tool, Check the air flow quantity of the Mass Air Flow (MAF) Sensor (G70) at idle:






- End diagnosis and switch ignition off.

If the specified value was obtained, but the DTC memory has a DTC concerning the Mass Air Flow (MAF) Sensor (G70):

- Check the voltage supply of the Mass Air Flow (MAF) Sensor (G70).

If specified value was not obtained:

- Check the wiring of the Mass Air Flow (MAF) Sensor (G70).

Checking voltage supply

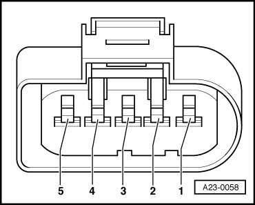
- Disconnect the Mass Air Flow (MAF) Sensor (G70) electrical harness connector - 1 -.





- Start the engine and let it run at idle.

- Using a multimeter, check the Mass Air Flow (MAF) Sensor (G70) electrical harness connector terminal 2 to engine Ground (GND).





Specified value: battery voltage.

- Switch the ignition off.

If specified value was not obtained:

- Check the Mass Air Flow (MAF) Sensor (G70) electrical harness connector terminal 2 to the Fuel Pump (FP) 2 Relay (J49) terminal 2/87 for an open circuit, a short circuit to each other, Battery (+), and Ground (GND).

- Check the electrical harness connector for damage, corrosion, loose or broken terminals.

- If necessary, repair the faulty wiring connection.

If no malfunction is detected in the wiring and if the voltage supply was OK:

Checking electrical circuit

If the manufacturers test box is being used. Perform the following step.

- Install the Test Box.

If the manufacturers test box is not being used. Perform the following step.

- Remove the Engine Control Module (ECM) (J623). Refer to => [ Engine Control Module, Replacing ] Engine Control Module, Replacing.

- Using a multimeter, check the Mass Air Flow (MAF) Sensor (G70) electrical harness connector terminals to the Engine Control Module (ECM) (J623) electrical harness connector T81 terminals for resistance.










Specified value: 1.5 ohms max.

If the specification was not obtained:

- Check the wiring for a short circuit to each other, Battery (+), and Ground (GND).

- Check the electrical harness connector for damage, corrosion, loose or broken terminals.

- If necessary, repair the faulty wiring connection.

If no malfunction is detected in the wiring and if the voltage supply was OK:

- Replace Mass Air Flow (MAF) Sensor (G70).

Final procedures

After repair work, the following work steps must be performed in the following sequence:

1. Check the DTC memory. Refer to => [ Diagnostic Mode 03 - Read DTC Memory ] Diagnostic Mode 03 - Read DTC Memory.

2. If necessary, erase the DTC memory. Refer to => [ Diagnostic Mode 04 - Erase DTC Memory ] Diagnostic Mode 04 - Erase DTC Memory.

3. If the DTC memory was erased, generate readiness code. Refer to => [ Readiness Code ] Engine.

End of diagnosis