Curiosii for ever!: Car repair manuals for everyone.

Steering Column Electronic Systems Control Module



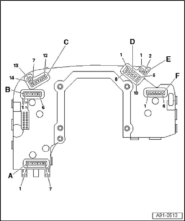
Steering Column Electronic Systems Control Module, Connector Assignment

Front side







A - Cruise control connector
1 - Terminal 31
2 - Fix
3 - Distance
4 - Terminal 30
5 - Activation/touch control function (Off)
6 - Acceleration/deceleration
7 - Engaged (Off)

B - Turn signal indicator connector
1 - Terminal 31
2 - Radio telephone (special-purpose vehicles)
3 - Alarm (special-purpose vehicles)
5 - Headlight flasher/light control
6 - Turn signal indicators

C - Harness connector of multi-function steering wheel/Tiptronic/heated steering wheel
7 - Touch (-)
8 - Multi-function steering wheel (terminal 30)
9 - Multi-function steering wheel (LIN data bus)
10 - Sensor heating/touch (+)
11 - Multi-function steering wheel/dimmer
12 - Tiptronic Ground
13 - Steering wheel heating (+)
14 - Steering wheel heating (-)

D - Steering Angle Sensor G85
1 - Light barrier 5
2 - Light barrier 3
3 - Light barrier 1
4 - Terminal 30
5 - Voltage supply (5 V)
6 - Light barrier 6
7 - Light barrier 4
8 - Light barrier 2
9 - Terminal 31
10 - Light barrier 7

E - Horn H1
1 - Terminal 31
2 - Horn

F - Wiper system
1 - Terminal 31
2 - Intermittent wipe potentiometer
3 - Board computer
5 - Wash
6 - Wipe

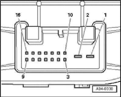
Rear side







16-pin multi-pin connector (T16a)
1 - Terminal 31
2 - Terminal 30
5 - Cruise control switched "Off"
6 - Alarm (special-purpose vehicles)
7 - Radio telephone (special-purpose vehicles)
8 - CAN-Bus Low (Comfort)
9 - CAN-Bus High (Comfort)
10 - CAN-Bus High (powertrain)
11 - CAN-Bus Low (powertrain)
12 - Ignition terminal lock 75
13 - Ignition lock S terminal
14 - Ignition terminal lock 15
15 - Ignition terminal lock 50
16 - Ignition lock terminal P