Curiosii for ever!: Car repair manuals for everyone.

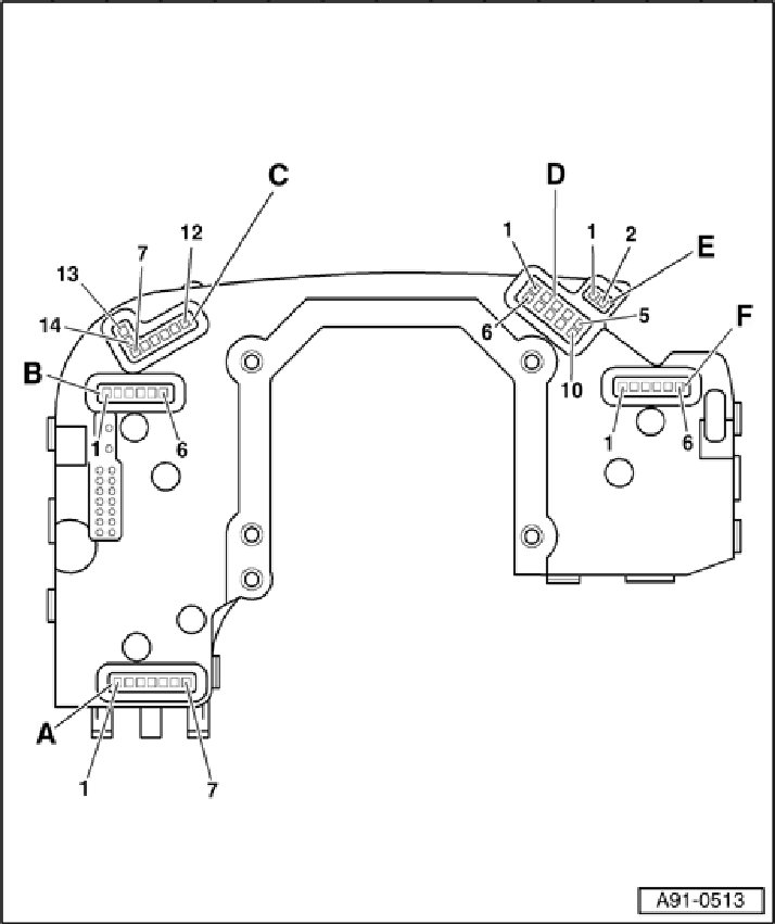
Terminal Assignment At Steering Column Electronic Systems Control Module -J527- (Front)



Terminal Assignment At Steering Column Electronic Systems Control Module -J527- (Front)







A - Cruise control system connector
1 - Ground (GND)
2 - Hold
3 - Distance
4 - 12 V power supply
5 - Mount/Tip function "Off"
6 - Acceleration/Deceleration
7 - Engaged "Off"

B - Turn signal connector
1 - Ground (GND)
2 - Radio remote control (special vehicles)
3 - Alarm (special vehicles)
4 - Not used
5 - Headlight flasher/headlight switch
6 - Turn signal







Connector for multi-function steering wheel/tiptronic/heated steering wheel

7 - Push-button "-"
8 - Multi-function steering wheel"+"- power supply
9 - Multi-function steering wheel data
10 - Heat sensor/push - button "+"
11 - Multi-function steering wheel dimmer
12 - Tiptronic ground (GND)
13 - Steering wheel heating "+"
14 - Steering wheel heating "-"

D - Steering angle sensor
1 - Light barrier 5
2 - Light barrier 3
3 - Light barrier 1
4 - 12 V voltage supply
5 - 5 V voltage supply
6 - Light barrier 6
7 - Light barrier 4
8 - Light barrier 2
9 - Steering angle sensor Ground (GND)
10 - Light barrier 7







E - Signal horn
1 - Horn Ground (GND)
2 - Horn

F -Wiper system
1 - Ground (GND)
2 - Wiper delay potentiometer
3 - Trip computer
4 - Not Used
5 - Washer
6 - Wipers.