Curiosii for ever!: Car repair manuals for everyone.

Intake Manifold Runner Control Valve, Checking







Intake Manifold Runner Control Valve, Checking

Special tools, testers and auxiliary items required

multimeter.

Wiring diagram.

Test requirements

Fuse (SB24) OK.

The Secondary Air Injection (AIR) Pump Relay (J299) OK.

The parking brake engaged.

The battery voltage at least 12.5 V.

The selector lever of automatic transmission in position "P" or "N".

All electrical consumers switched off (radiator fan must NOT run during test).

A/C switched off.

The fuel tank at least 1/4 filled.

The ignition switched off.

Test procedure

- Perform a preliminary check to verify the customers complaint. Refer to => [ Preliminary Check ] Preliminary Check.

Start diagnosis

- Disconnect the Intake Manifold Runner Control (IMRC) Valve (N316) electrical harness connector.

Checking internal resistance

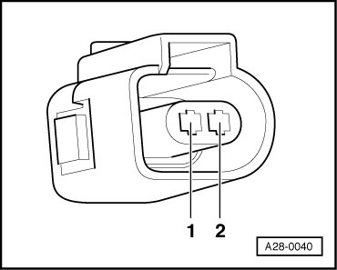
- Using a multimeter, check the Intake Manifold Runner Control (IMRC) Valve (N316) terminals 1 to 2 for resistance.





Specified value: 25 [+/-] 10 ohms.

If the specified value was not obtained:

- Replace the Intake Manifold Runner Control (IMRC) Valve (N316). Refer to the appropriate service information.

If the specified value was obtained:

Checking voltage

Switch the ignition on.

- Using a multimeter, check the Intake Manifold Runner Control (IMRC) Valve (N316) electrical harness connector terminal 1 to ground (GND) for voltage.





Specified value: battery voltage.

- Switch the ignition off.

If the specified value was not obtained:

- Check the wiring from the Intake Manifold Runner Control (IMRC) Valve (N316) electrical harness connector terminal 1 to fuse SB24 on fuse panel B.

- Check the electrical harness connector for damage, corrosion, loose or broken terminals.

- If necessary, repair the wiring connection.

If no malfunctions are found in the wiring:

Checking wiring

If the manufacturers test box is being used, perform the following step.

- Install the test box.

If the manufacturers test box is not being used, perform the following step.

- Remove the Engine Control Module (ECM) (J623). Refer to the appropriate service information.

- Using a multimeter, check the Intake Manifold Runner Control (IMRC) Valve (N316) electrical harness connector terminal 2 to the Engine Control Module (ECM) (J623) electrical harness connector terminal 20 for resistance.






Specified value: 1.5 ohms Max.

If the specification was not obtained:

- Check the wiring for a open circuit.

- Check the electrical harness connector for damage, corrosion, loose or broken terminals.

- If necessary, repair the faulty wiring connection.

If no malfunction is detected in the wiring:

- Erase the DTC memory. Refer to => [ Diagnostic Mode 04 - Erase DTC Memory ] Diagnostic Modes 01 - 0A.

- Perform a road test to verify repair.

If the DTC does not return:

Generate readiness code. Refer to => [ Readiness Code ] Readiness Code.

If the DTC does return and no malfunction is detected in the wiring and the voltage supply was OK:

- Replace the Engine Control Module (ECM) (J623). Refer to the appropriate service information.

Final procedures

After the repair work, the following work steps must be performed in the following sequence:

1. Check the DTC memory. Refer to => [ Diagnostic Mode 03 - Read DTC Memory ] Diagnostic Modes 01 - 0A.

2. If necessary, erase the DTC memory. Refer to => [ Diagnostic Mode 04 - Erase DTC Memory ] Diagnostic Modes 01 - 0A.

3. If the DTC memory was erased, generate readiness code. Refer to => [ Readiness Code ] Readiness Code.