Curiosii for ever!: Car repair manuals for everyone.

Steering Mounted Controls Communication Module






Steering Column Electronic Systems Control Module, Multi-Pin Connector Assignments





A Multi-pin connector, 4-pin, yellow, for airbag
B Multi-pin connector, 20-pin (black), for Vehicle Electrical System Control Module (J519)

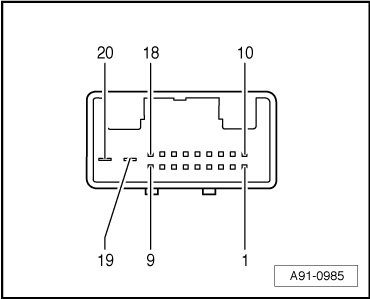
Multi-pin connector, 20-pin





11 Powertrain CAN-Bus Low
12 Powertrain CAN-Bus High
13 Cruise control locked "OFF" (to ECM)
14 Convenience CAN-Bus High
15 Convenience CAN-Bus Low
16 "Parking lock" signal (from automatic transmission selector)
17 Switched positive - Terminal 15 to Vehicle Electrical System Control Module (J519)
18 Starter crank signal - Terminal 50 to Vehicle Electrical System Control Module (J519)
19 Battery positive (B+) - Terminal 30
20 Ground (GND) - Terminal 31

Additional systems, Steering Column Electronic Systems Control Module (J527) multi-pin connector assignments => Electrical Equipment 94 Description and Operation