Headlamp Alignment Control Module: Service and Repair
Automatic Vertical Aim Control System Control Module -J431-, Removing and Installing
Removing
- Remove left luggage compartment liner
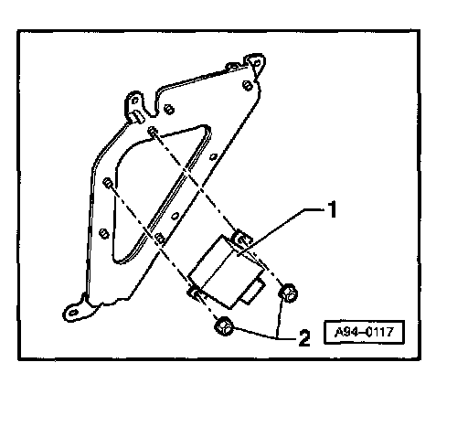
The automatic vertical aim control system control module -2- is mounted on bracket -1- under the luggage compartment liner.
- If necessary remove screws -3-.
- Remove electrical connector.
- Remove control module -1- by removing nuts -2-.
Installing
- Install control module in reverse order of removal.
- High intensity gas discharge headlights, removing and installing.
- Headlight beam adjusting motors, removing and installing.