Curiosii for ever!: Car repair manuals for everyone.

Brake Light Switch and Brake Pedal Switch, Checking




Brake Light Switch and Brake Pedal Switch, Checking

Special Tools and Equipment







- VAG1526A
- VAG1527B
- VAG1594A
- VAG1598/31
- VAS5051 with VAG5051/1
or
- VAG1551 with VAG1551/3B


NOTE: For safety reasons, the instruction from the accelerator pedal sensor (potentiometer) to the ECM to open the throttle valve is suppressed when brake is being operated. This requires the brake light switch signal and also the brake pedal switch signal in the control module. If brake pedal is operated with accelerator pedal constantly depressed, engine is immediately regulated down to idle speed A faulty switch can lead to undesired regulation.


Test Sequence
- Connect VAS5O51 tester or VAG1551 scan tool and select the control module for engine electronics using "address word" 01. Refer to "Scan Tool Testing/Selectable Functions When Using VAG1551/1552 or VAS5051", Testing and Inspection
Ignition must remain switched on for this.

When indicated on display:


Rapid data transfer HELP
select function XX



- Press buttons -0- and -8- to select "Read Measuring Value Block" and press -Q- button to confirm input.

When indicated on display:


Read Measuring Value Block Q
Input display group number XXX



- Press buttons -0-, -6- and -6- to select "display group number 066" and press -Q- button to confirm input.

Indicated on display:


Read Measuring Value Block 66 ->
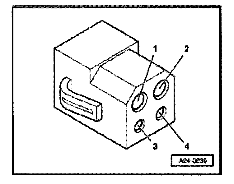
1 2 3 4



- Check brake light/brake pedal switch in display field 2.







If indications do not resemble description:

Check switch
- Remove driver-side storage compartment.
- Disconnect harness connector at brake light switch and brake pedal switch.


NOTE: Connector sockets are marked on the back side of the connector.







- Connect multimeter between terminal 1 and 2 for resistance measurement.
- Specification: Infinity Ohms (no continuity)
- Depress accelerator pedal.
- Specification: approx. 0 Ohms
- Connect multimeter between terminal 3 and 4 for resistance measurement.
- Specification: approx. 0 Ohms
- Depress accelerator pedal.
- Specification: Infinity Ohms (no continuity)

If specified values are not obtained:
- Check adjustment of switch or
- Replace brake light switch/brake pedal switch.

If specified values are obtained:

Checking voltage supply







- Connect VAG1527B voltage tester as follows:

Harness connector Terminal Measure to
1 Chassis Ground (GND)

- LED must light up.

- Switch ignition on.

Harness connector Terminal Measure to
3 Chassis Ground (GND)

- LED must light up.

If LED does not light up:
- Check wire connection from terminal 1 or 3 of connector for open circuit and short circuit to Ground (GND):
- Repair open circuit or short circuit if necessary.

If LED lights up:

Checking activation
- Connect VAG1598/31 test box at wiring harness to ECM, do not connect ECM. Refer to "Scan Tool Testing/Wire And Component Test Using VAG1598/31 Test Box", Testing and Inspection
- Check the following wire connections for open circuit and short circuit to Ground (GND) and B+:

Harness connector Terminal VAG1598/31 test box Socket
2 56
4 55

- Repair open circuit or short circuit if necessary.