Curiosii for ever!: Car repair manuals for everyone.

Power Window Control Module: Locations


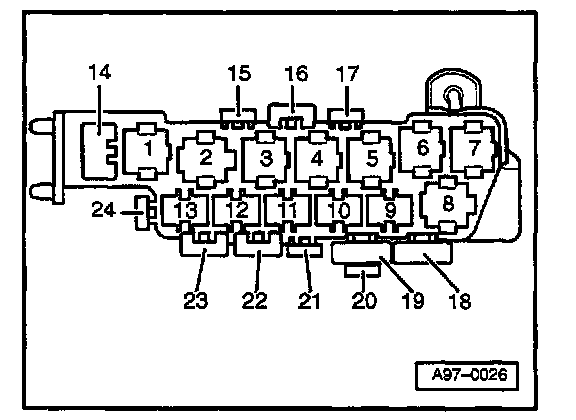
Relays in 8-Way Relay Carrier:





2 Second Speed Coolant Fan Control (FC) Relay
3 Coolant Fan Control (FC) Relay
4 Power Window / Sunroof Control Module
5 Control Module for Door Warning Lights

Relay Panel Locations:





14 Central Electric Unit
15 Relay Panel (13-Way Relay Carrier)
16 Auxiliary Relay Panel (8-Way Relay Carrier)