Curiosii for ever!: Car repair manuals for everyone.

Procedures







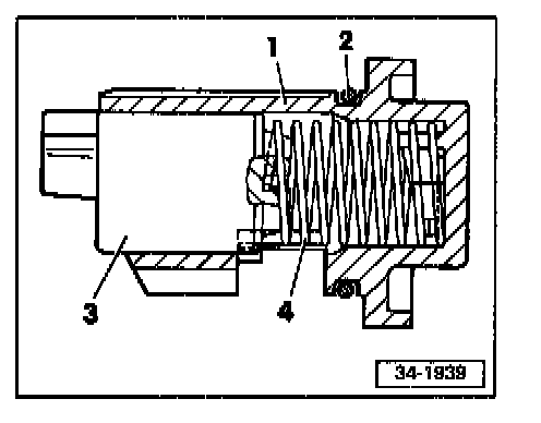
5th/Reverse Gear Detent
1. Plastic bushing
2. 0-ring
3. 5th/Reverse gear locking plunger
4. Spring

Installation
- Place spring -4- in plastic bushing -1- and, under slight pressure, rotate in counterclockwise direction until spring engages at bottom of plastic part.
- Place plunger -3- on spring so that bent spring end engages in slot.
- Compress spring with plunger -3- and rotate approx. 1 turn in counterclockwise direction, tensioning spring, until lug on plunger -3- is in line with groove in plastic bushing.
- Push lug of plunger -3- into groove of plastic bushing -1- as far as possible.
- Rotate plunger -3- in clockwise direction and release. Plunger -3- will then spring into correct end position.





Assembly Position Of 5th/Reverse Gear Detent
- Lug (arrow -A-) of 5th/Reverse gear locking plunger must always come to rest on side opposite plastic bushing groove (arrow -B-)

Note: If 5th or Reverse gears stick or jam after shift mechanism has been adjusted, 5th/Reverse gear detent must first be removed, examined, and replaced if necessary, before removing and disassembling the transmission.






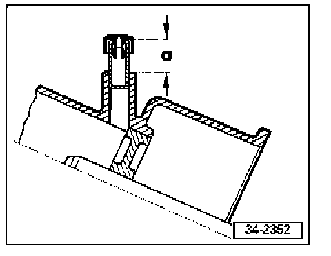
Press-In Depth Of Transmission Breather Sleeve
- Dimension -a- = 21 mm (approx. 13/16 in.)