Curiosii for ever!: Car repair manuals for everyone.

Sensor Plate to Air Cone Clearance

Air Flow Sensor Plate Positioning:





1. Remove intake air boot from top of air flow sensor housing.
2. With a feeler gauge, check sensor plate position in air cone.

^ Sensor plate must be centered in the air cone and not touch the sides of the cone. Clearance should be approx. 0.004" (0.1mm) all around the edge of the sensor plate (check in four positions 90° apart).

Adjusting Sensor Plate Position:





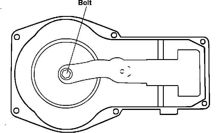
3. If plate is not correctly centered, remove bolt at center of sensor plate and coat it with a thread locking compound, then re-install bolt and tighten finger tight. Center plate by inserting 4 feeler gauges of equal thickness (0.004"/0.1mm) 90° apart around edge of plate, then tighten lock bolt and re-check.

Adjusting Sensor Plate Position:





If plate can't be centered, lift away top of air cleaner box, loosen the adjustment/lock bolt (see illustration), position sensor plate by inserting 4 feeler gauges of equal thickness 90° apart around edge of plate, then tighten lock bolt and re-check. If plate still can't be properly centered, replace air flow sensor