Curiosii for ever!: Car repair manuals for everyone.

Air Flow Meter/Sensor: Description and Operation

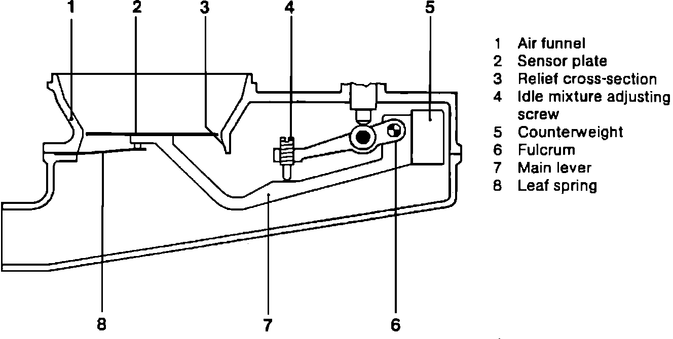
Fig. 2 Air Flow Sensor:






The air flow sensor is mounted in the intake air stream between the air cleaner and throttle body. The unit consists of an air flow sensor flap and venturi funnel. The air flow sensor plate is mechanically connected to the control plunger, causing the plunger to rise and fall in direct relation to the amount of air entering the engine. Air/fuel mixtures are also tailored to engine operating conditions by the venturi shape of the cone in which the air flow sensor plate operates. At idle, when air flow volume is relatively low, the cone shape increases pressure under the sensor plate, providing additional lift to enrich air/fuel mixtures. At part throttle the cone design causes the sensor plate to float lower than air flow through a straight sided cone would dictate, providing leaner mixtures for improved economy. During full throttle operation the venturi shape increases air velocity, providing additional lift to the sensor plate and richer air/fuel mixtures for maximum power output.