Curiosii for ever!: Car repair manuals for everyone.

Wiper Blade: Service and Repair




Wiper Blade Replacement

1. Lift the wiper arms from the windshield.

NOTE: Lift the driver's side first.

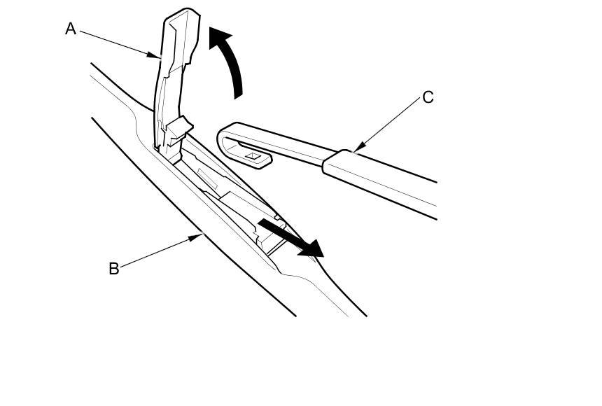
2. Pull up and hold the tab (A) and slide the wiper holder (B) toward the tab to release it from the wiper arm (C).






3. Slide the wiper blade (A) out from the wiper holder (B).





4. Install new blades onto the wiper holders in the reverse order of removal.

5. Install the wiper holders onto the wiper arms in the reverse order of removal.

6. Check the wiper operation, if the blades slip, turn the wiper switch OFF, and reinstall the wiper blades securely.