Curiosii for ever!: Car repair manuals for everyone.

Rear Door Window Regulator: Service and Repair




Rear Door Glass and Regulator Replacement

NOTE: Put on gloves to protect your hands.

1. Raise the glass fully.

2. Remove these items:

- Door panel Rear Door Panel Removal / Installation
- Inner handle

3. Remove the plastic cover (A).

1. Disconnect the power door lock actuator connector (B), and detach the harness clip (C).

2. Remove the plug caps (D).

3. Pass the wire harness (E) and the cables (F) through the slits (G) in the plastic cover.

NOTE: If the plastic cover is damaged or torn, replace it with a new one.





4. If necessary, remove the screws, then remove the pull pocket bracket (A).






5. Detach the harness clip (A). Remove the bolt (B), and loosen the bolt (C), then remove the door panel bracket (D).






6. Lower the glass (A) until you can see the bolts, then remove them. Release the glass from the holder (B), then remove it from the regulator (C), and carefully lower the glass.

NOTE: Take care not to drop the glass inside the door.






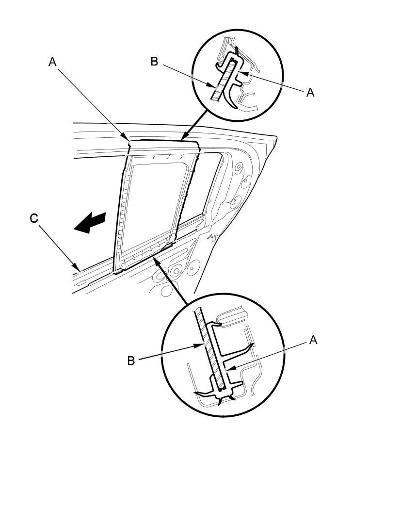
7. Remove the bolts (A, B) and the collar (C) from the rear lower channel (D). Pull away the door weatherstrip (E) as needed, and remove the screw (F).






8. Pull away the glass run channel (A) as needed. Pull the rear lower channel (B) from the quarter glass seal (C), then release the upper hook (D) from the door. Remove the rear lower channel from the door glass (E), then pull up the sash to remove it.






9. Remove the rear lower channel (A) from the glass run channel (B).






10. Carefully remove the glass (A) out through the window slot.

NOTE: Take care not to drop the glass inside the door.






11. Pull the quarter glass seal (A) forward, then remove the quarter glass (B).

NOTE: Take care not to damage the door glass outer weatherstrip (C).






12. Disconnect the connector (A) from the regulator (B).





13. Remove the bolts (C), and loosen the bolt (D). Release the hook (E), then remove the regulator through the hole in the door.

14. Apply multipurpose grease to all the sliding surfaces of the regulator (A) where shown.






15. Install the glass and the regulator in the reverse order of removal, and note these items:

- If the clip is damaged or stress-whitened, replace it with a new one.
- Make sure each connector is plugged in properly.
- Push the clips and the hooks into place securely.
- Make sure that there is no clearance between the glass and the glass run channel when the glass is closed.
- Roll the glass up and down to make sure it moves freely without binding.
- Adjust the position of the glass as necessary Adjustments.
- Make sure the power door lock and the power window operate properly.
- Make sure the plastic cover on the door is installed properly and sealed around its outside perimeter to seal out water.
- Check for water leaks.
- Test-drive the vehicle, and check for wind noise and rattles.