Curiosii for ever!: Car repair manuals for everyone.

Side Impact Sensor (Second) Replacement




Side Impact Sensor (Second) Replacement

Removal

1. Do the battery terminal disconnection procedure, then wait at least 3 minutes before starting work.

2. Remove the seat side bolster.

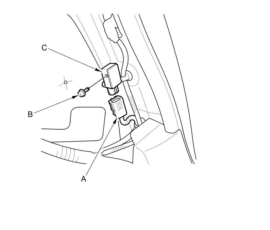
3. Disconnect the side impact sensor (second) 2P connector (A) on the floor wire harness.





4. Remove the TORX bolt (B) using a TORX T30 bit, then remove the side impact sensor (second) (C).

Installation

1. Install the side impact sensor (second) (A) with the new TORX bolt (B) using a TORX T30 bit. Connect the side impact sensor (second) 2P connector (C) on the floor wire harness.





2. Do the battery terminal reconnection procedure.

3. Clear any DTCs with the HDS.

4. Confirm proper SRS operation: Turn the ignition switch to ON (II), or press the engine start/stop button to select the ON mode, and check that the SRS indicator comes on for about 6 seconds and then goes off.

5. Reinstall all removed parts.