Curiosii for ever!
: Car repair manuals for everyone.
Home
>>
Acura
>>
2012
>>
ZDX V6-3.7L
>>
Repair and Diagnosis
>>
Relays and Modules
>>
Relays and Modules - Accessories and Optional Equipment
>>
Blind Spot Module
>>
Locations
>>
Component Location Index
Component Location Index
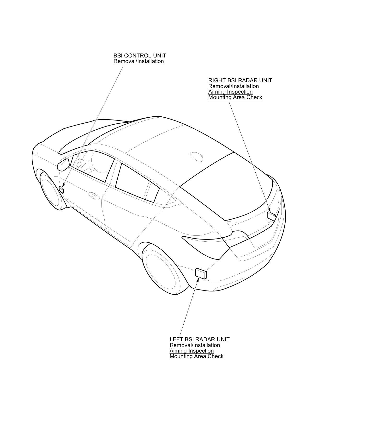
Blind Spot Information System (BSI) Component Location Index