Curiosii for ever!: Car repair manuals for everyone.

Yaw Rate Sensor: Service and Repair




Yaw Rate-Acceleration Sensor Replacement

NOTE:

- Do not damage or drop the sensor as it is sensitive.
- Do not use power tools when replacing the sensor.

1. Turn the ignition switch to LOCK (0), or press the engine start/stop button to select the OFF mode.

2. Remove the center console trims on both sides Center Console Removal / Installation.

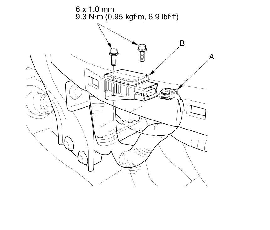
3. Disconnect the yaw rate-acceleration sensor 4P connector (A), then remove the yaw rate-acceleration sensor (B).





4. Install the yaw rate-acceleration sensor in the reverse order of removal.

5. Do the VSA sensor neutral position memorization Programming and Relearning.

6. Do the yaw rate-acceleration neutral position memorization for SH-AWD system Testing and Inspection.