Curiosii for ever!: Car repair manuals for everyone.

Windshield Moulding / Trim: Service and Repair




Windshield Side Trim Replacement

Special Tools Required

- KTC Trim Tool Set SOJATP2014
*Available through the Acura Tool and Equipment Program; call 888-424-6857

Trim Replacement

NOTE:

- Put on gloves to protect your hands.
- Take care not to damage the windshield.
- Take care not to bend the windshield side trim.
- Do not use any metal tools to remove the windshield side trim, or you may chip the edge of the windshield and some cracks in the windshield will result.
- Use the appropriate tool from the KTC trim tool set to avoid damage when removing components.

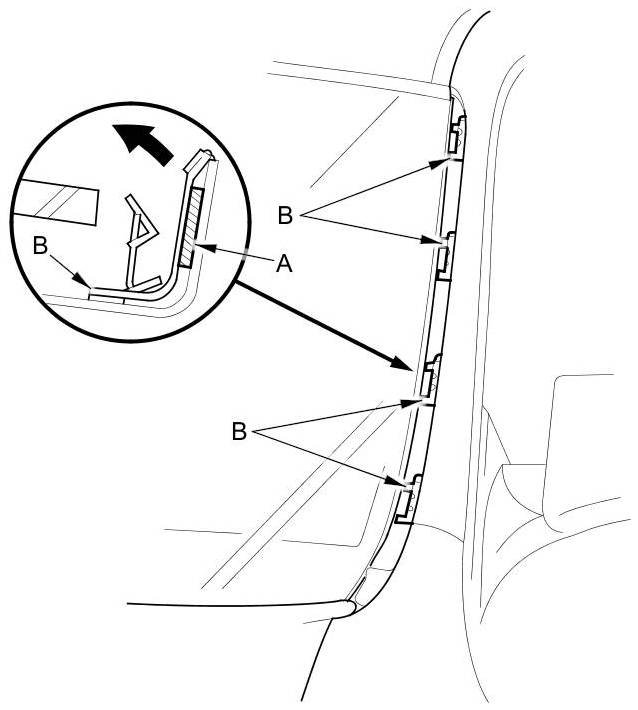
1. Remove the windshield side trim (A).

1. While pushing the upper retainer (B) area of the trim to the pillar side by hand, gently pry up the trim to release it from the retainers.

2. Gradually work your way down to release each of the retainers (C).

3. Slide the trim rearward to release it from the bottom clip (D).





2. Remove the bottom clip (A) by turning it 90 ° from the body.





3. If the bottom clip is damaged or stress-whitened, replace it with a new one.

4. Install the bottom clip (A) on the windshield side trim (B). Be sure the projection (C) on the clip points up.






5. Hold up the windshield side trim (A), starting at the top, fit the holes in the trim to the retainers (B) and the bottom clip (C) into the hole in the body, then push on the trim until the trim and the bottom clip snap into place.

NOTE: If the retainers were replaced, do not pull up on the trim for at least 24 hours while the adhesive cures.






Retainer Replacement

1. Gradually scrape off the adhesive tape (A) under the retainers (B) while heating it with a heat gun to about 212-248 °F (100-120 °C).

NOTE:

- Do not overheat the painted surface around the retainers.
- To keep the exterior resin parts near the A-pillar from being overheated by the heat gun, wrap them with aluminum foil.





2. Clean the body bonding surface with a shop towel dampened with isopropyl alcohol. After cleaning, keep oil, grease, and water from getting on the clean surface.

3. Install the upper retainers (A) and the lower retainer (B).

1. Peel the adhesive backing away from the retainers.

2. Line up the retainers with the alignment marks (C) on the body, and attach the retainers with the adhesive tape (D).

3. Apply the two-part epoxy adhesive (E) around the edge of the retainers as shown.