Curiosii for ever!: Car repair manuals for everyone.

Rear Door Window Regulator: Service and Repair




Rear Door Glass and Regulator Replacement

NOTE: Put on gloves to protect your hands.

1. Remove the door panel Rear Door Panel Removal / Installation.

2. Raise the glass fully.

3. Remove the screws, then remove the door panel bracket (A).






4. Remove the plastic cover (A).

1. Disconnect the power door lock actuator connector (B), and detach the harness clip (C).

2. Remove the plug caps (D).

3. Pass the wire harness (E) through the slits (F) in the plastic cover (G), then remove the cover.

NOTE: If the plastic cover is damaged or torn, replace it with a new one.





5. Detach the harness clip (A). Remove the bolts, and release the hook (B), then remove the door panel bracket (C).





6. Remove the door pad Rear Door Pad Replacement.

7. Lower the glass (A) until you can see the bolts, then remove them. Release the glass from the holder (B), then remove it from the regulator (C), and carefully lower the glass.

NOTE: Take care not to drop the glass inside the door.






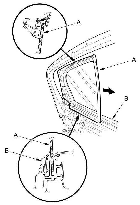
8. Remove the bolts (A, B) and the collar (C) from the rear lower channel (D). Pull away the door weatherstrip (E) as needed, and remove the screw (F).






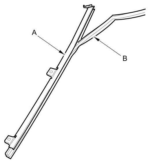
9. Pull away the glass run channel (A) as needed. Pull the rear lower channel (B) forward from the quarter glass seal (C), then release the upper hook (D) from the door. Remove the rear lower channel from the door glass (E), then pull up the channel to remove it.






10. Remove the rear lower channel (A) from the glass run channel (B).






11. Carefully remove the glass (A) out through the window slot.

NOTE: Take care not to drop the glass inside the door.






12. Pull back the rear pillar inner trim (A) to release the hooks (B), then remove the trim. Remove the screws securing the quarter glass (C).






13. Starting at the rear, pull up the door inner weatherstrip (A), then remove it.






14. Remove the quarter glass (A).

NOTE: Take care not to damage the door glass outer weatherstrip (B).






15. Disconnect the connector (A) from the regulator (B).





16. Remove the bolts (C), and loosen the bolt (D). Release the hook (E), then remove the regulator through the hole in the door.

17. Apply multipurpose grease to all the sliding surfaces of the regulator (A) where shown.






18. Install the glass and the regulator in the reverse order of removal, and note these items:

- If the clip is damaged or stress-whitened, replace it with a new one.
- Roll the glass up and down to make sure it moves freely without binding.
- Make sure that there is no clearance between the glass and the glass run channel when the glass is closed.
- Make sure each connector is plugged in properly.
- Adjust the position of the glass as necessary Adjustments.
- Make sure the power door locks and the power windows operate properly.
- Make sure the plastic cover on the door is installed properly and sealed around its outside perimeter to seal out water.
- Push the hooks into place securely.
- Check for water leaks.
- Test-drive the vehicle, and check for wind noise and rattles.