Curiosii for ever!: Car repair manuals for everyone.

Seat Cover: Service and Repair




Front Seat-Back Cover Replacement

Special Tools Required

- KTC Trim Tool Set SOJATP2014
- Trim Pad Remover Snap-on A 177A or equivalent, commercially available
*Available through the Acura Tool and Equipment Program; call 888-424-6857

SRS components are located in this area. Review the SRS component locations Locations and the precautions and procedures Service and Repair before doing repairs or service.

Do the OPDS sensor initialization after front passenger's seat-back cover replacement.

NOTE:

- Put on gloves to protect your hands.
- Take care not to tear or damage the seat covers.
- On the passenger's seat, do not touch the OPDS sensor in the seat-back cover/pad, and keep it away from oil. Oil can corrode the sensor causing it to fail.
- Use the appropriate tool from the KTC trim tool set to avoid damage when removing components.

1. Remove the front seat Front Seat Removal / Installation.

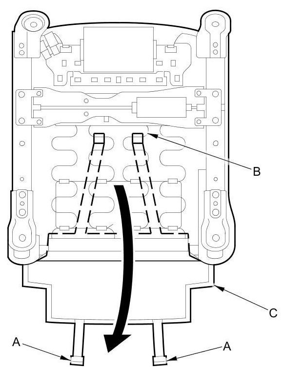
2. From under the seat cushion, release the hooks (A) on the elastic strap from the seat cushion frame springs (B), then pull out the back panel undercover (C).






3. Insert a trim pad remover between the bottom of the back panel (A) and the seat frame until it squarely engages one of the clips. Gently pry on the clip until it detaches from the seat frame. Repeat for the other clip. Gently pull back the panel to release the hooks (B), then pull down the panel to release the hooks (C).

NOTE:

- The clips usually break during removal. Always replace the clips with new ones.
- Detach the clips and release the hooks in numbered sequence as shown.
- Take care not damage the seat-back panel or the clip mounting pads.





4. Release the Velcro fasteners (A) and the hook strips (B), then loosen the seat-back cover (C).






5. With seat ventilation: Remove the nuts, and release the front seat-back blower (A) from the seat frame (B).






6. With seat ventilation: Release the hooks (A), then remove the front seat-back blower (B).






7. Disconnect the seat-back heater connector (A), and detach the harness clip (B).






8. Release airbag attachment wire A and airbag attachment wire B from the seat-back frame (C).






9. Passenger's seat: Remove the ODS unit cover (A).

1. Turn over the seat-back cover (B) and the pad (C) as needed.

2. Release the cover from the lower hooks (D).

3. Pull the cover upward to release it from the upper hook (E).





10. Passenger's seat: Disconnect the OPDS sensor connectors (F).

11. Passenger's seat: Detach the harness clips (A) fastening the OPDS sensor harnesses (B), and release the wire tie (C).






12. Pinch the tabs on the ends of the head restraint guides (A), and remove them from the seat-back.






13. Remove the seat-back cover/pad (A) from the seat-back frame (B).






14. Pull back the edge of the seat-back cover (A) all the way around, and release the clips (B), and the Velcro fasteners (C), then remove the seat-back cover.






15. Remove airbag attachment wire B from the outside reinforcing cloth (C). Pull airbag attachment wire A out through the loop (D) of the inside reinforcing cloth (E). Remove airbag attachment wires A and B.






16. Install the cover in the reverse order of removal, and note these items:

- To prevent wrinkles when installing the seat-back cover, make sure the material is stretched evenly over the pad before securing the clips, the hooks, and the hook strips.
- Before installing the seat-back cover, make sure airbag attachment wires A, B are installed in the reinforcing cloths (C) correctly.
- Replace any clips (D) you removed with new ones.
- Reinstall airbag attachment wires A, B securely to the seat-back frame as shown.
- Use only original Acura replacement seat-back covers.
- Make sure the side airbag harness and the seat wire harnesses are routed properly.