Curiosii for ever!: Car repair manuals for everyone.

Power Seat Adjustment Switch Test/Replacement




Power Seat Adjustment Switch Test/Replacement

NOTE: SRS components are located in this area. Review the SRS component locations Locations, and precautions and procedures Service and Repair before doing repairs or servicing.

1. Remove the driver's seat Front Seat Removal / Installation.

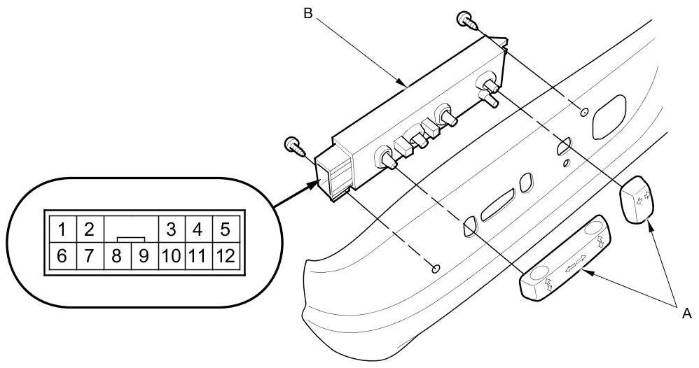
2. Remove the power seat adjustment switch knobs (A) and the recline cover from the driver's seat Front Seat Recline Cover Removal / Installation, then remove the two screws and the power seat adjustment switch (B).





3. Disconnect the 12P connector from the power seat adjustment switch.

4. Reinstall the adjustment switch knobs to the switch.

5. Check for continuity between the terminals in each position according to the table.





6. If the continuity is not as specified, replace the switch.