Curiosii for ever!: Car repair manuals for everyone.

Windshield Moulding / Trim: Service and Repair




Windshield Side Trim Replacement

Special Tools Required

- KTC Trim Tool Set SOJATP2014
*Available through the Acura Tool and Equipment Program; 888-424-6857

NOTE:

- Put on gloves to protect your hands.
- Take care not to damage the windshield.
- Do not use any metal tools to remove the windshield side trim, or you may chip the edge of the windshield and crack the windshield.
- Use the appropriate tool from the KTC trim tool set to avoid damage when removing components.
- Take care not to bend the windshield side trim.

Trim Replacement

1. Remove the cowl cover upper trim Service and Repair.

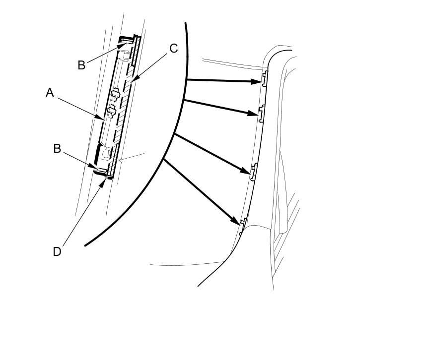
2. Remove the windshield side trim (A).

1. Carefully insert a plastic trim tool (B) under the windshield side trim next to the lower clip (C).

2. While pushing the clip portion of the windshield side trim to the pillar side by hand, gently pry up the trim in the numbered sequence shown to release the clips from the retainers (D) on the A-pillar.

3. Gradually work your way up to release each of the upper clips (E, F, G).





3. Install the trim in the reverse order of removal, and note these items:

- Make sure the trim is installed securely.
- Replace any damaged retainer.
- If the clips are damaged or stress-whitened, replace them with new ones.

Retainer Replacement

1. Gradually rub off the adhesive tape (A) under the retainers (B) while heating them with a heat gun.

NOTE:

- Do not heat the painted body surface around the retainers too much.
- To keep the exterior resin parts near the A-pillar from being overheated by a heat gun, wrap them with aluminum foil.





2. Clean the body bonding surface with a shop towel dampened in isopropyl alcohol. After cleaning, keep oil, grease, and water from getting on the clean surface.

3. Install the retainers (A).

1. Peel the adhesive backing away from the retainers.

2. Line up the retainers with the alignment marks (B) on the body, and attach them with adhesive tape (C).

3. Apply epoxy two-part adhesive (D) around the edge of the retainers as shown.