Curiosii for ever!: Car repair manuals for everyone.

Rear Door Window Regulator: Service and Repair




Rear Door Glass, Quarter Glass, and Regulator Replacement

NOTE: Put on gloves to protect your hands.

1. Remove these items:

- Door panel Rear Door Panel Removal / Installation
- Door glass inner weatherstrip
- Door sash outer trim

2. Remove the screws, then remove the door pull pocket bracket (A). Disconnect the power door lock actuator connector (B), and remove the plug cap (C), and then remove the plastic cover (D).

NOTE: If the plastic cover is damaged or torn, replace it.






3. Carefully move the glass (A) until you can see the glass mounting bolts, then remove them. Carefully lower the glass into the door. Take care not to drop the glass inside the door.






4. Pull the glass run channel (A) away as needed, then remove the screw (B). Remove the bolts (C, D) securing the rear lower channel (E), then remove the collar (F).






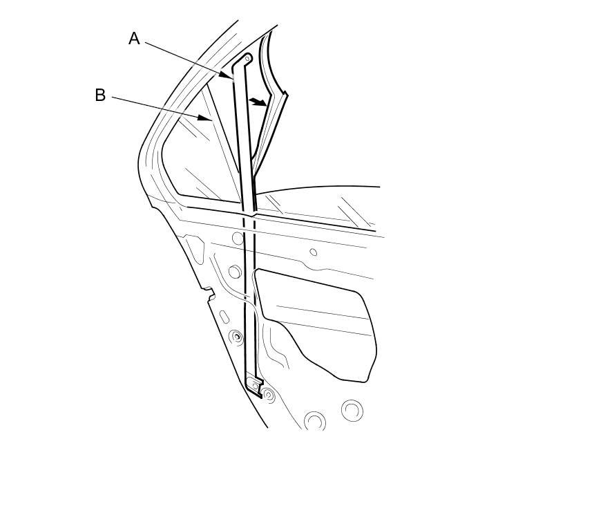
5. Pull the upper portion of the rear lower channel (A) forward to remove it from the door quarter glass seal (B).






6. Pull the door weatherstrip (A), and remove the screw, then remove the quarter glass (B). Take care not to damage the door glass outer weatherstrip (C).






7. Carefully remove the glass (A) through the window slot. Take care not to drop the glass inside the door.






8. Disconnect the connector (A) from the regulator (B).





9. Remove the bolts (C), and loosen the bolts (D), then remove the regulator through the hole in the door.

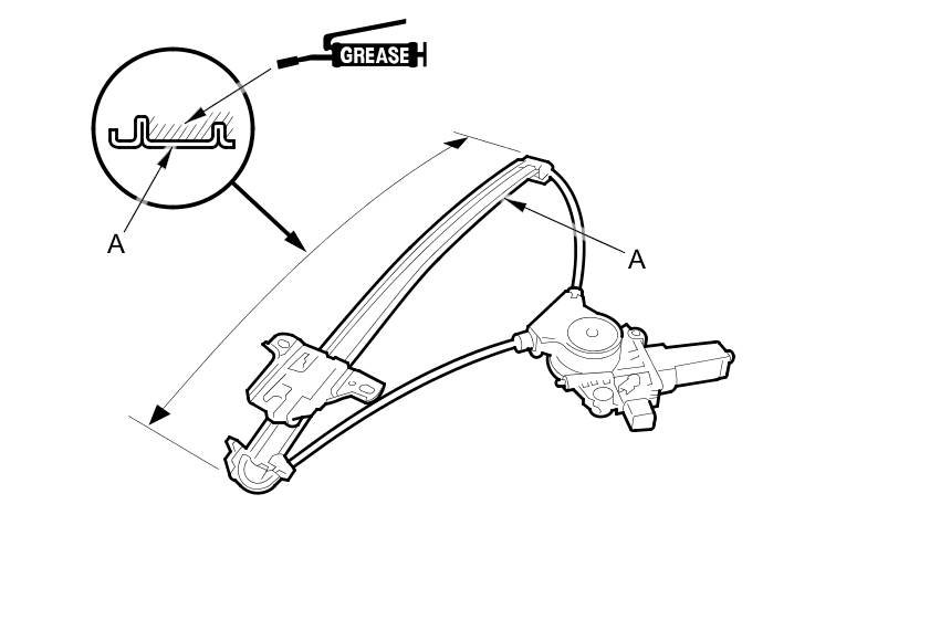
10. Apply multipurpose grease to the sliding surfaces of the regulator (A) where shown.





11. Install the glass and the regulator in the reverse order of removal, and note these items:

- Special corrosion-resistant bolts are used in this area. The use of any other type of hardware may result in accelerated corrosion.
- Roll the glass up and down to make sure it moves freely without binding.
- Make sure that there is no clearance between the glass and the glass run channel when the glass is closed.
- Make sure the power door locks and the power windows operate properly.
- Make sure each connector is plugged in properly.
- Adjust the position of the glass as necessary Adjustments.
- Do the power window control unit resetting procedure Testing and Inspection.
- Check for water leaks.
- Test-drive the vehicle, and check for wind noise and rattles.
- When reinstalling the door panel, make sure the plastic cover is installed properly and sealed around its outside perimeter to prevent water leaks.