Curiosii for ever!: Car repair manuals for everyone.

Seat Cover: Service and Repair




Front Seat-Back Cover Replacement

Special Tools Required

- KTC Trim Tool Set SOJATP2014
- Trim Pad Remover Snap-on A 177A or equivalent, commercially available
*Available through the Acura Tool and Equipment Program; 888-424-6857

SRS components are located in this area. Review the SRS component locations Locations and the precautions and procedures Service and Repairbefore doing repairs or service.

- Do the OPDS sensor initialization Programming and Relearning after front passenger's seat-back cover replacement.

NOTE:

- Put on gloves to protect your hands.
- Take care not to tear or damage the seat covers.
- Passenger's seat, do not touch the OPDS sensor in the seat-back pad, and keep it away from oil. Oil can corrode the sensor causing it to fail.
- Use the appropriate tool from the KTC trim tool set to avoid damage when removing components.

1. Remove the front seat Front Seat Removal / Installation.

2. Remove the head restraint.

3. From under the seat cushion, release the hook straps (A) from the seat cushion frame spring (B), then pull back the undercover (C) of the seat-back cover.






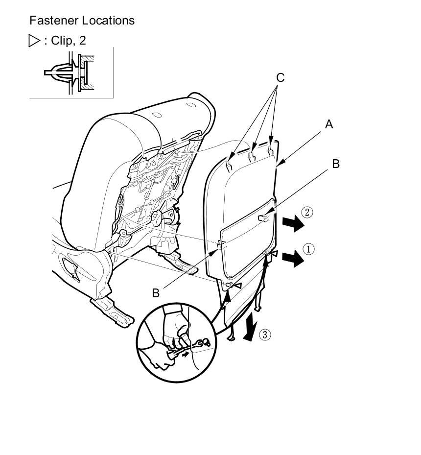
4. Insert a trim pad remover between the bottom of the back cover (A) and the seat frame until it squarely engages one of the clips. Gently pry on the clip until it detaches from the seat frame. Repeat for the other clip. Gently pull back the back panel to release the hooks (B), then pull down the back panel to release the hooks (C).

NOTE:

- The clips usually break during removal. Always replace the clips with new ones.
- Detach the clips, and release the hooks in the numbered sequence as shown.
- Take care not to damage the back panel or the clip mounting pads.





5. Release the Velcro fasteners (A) and the hook strips (B), then loosen the seat-back cover (C).






6. Driver's seat: Disconnect the seat-back heater connector (A), and detach the harness clip (B).






7. With ventilation seat, pull out the seat-back ventilation duct (A) from the seat-back cushion (B) both sides.






8. Release airbag attachment wire A and airbag attachment wire B from the seat-back frame (C).






9. Passenger's seat: Remove the ODS unit cover (A).

1. Turn over the seat-back cover (B) and the pad (C) as needed.

2. Release the cover from the lower hooks (D).

3. Pull the cover upward to release it from the upper hook (E).





10. Passenger's seat: Disconnect the OPDS sensor connectors (F).

11. Passenger's seat: Detach the harness clips (A) fastening the OPDS sensor harnesses (B), and release the wire harness from the harness holder (C).






12. Pull out the head restraint guides (A) while pinching the tabs on the end of the guides, and remove them.






13. Remove the seat-back cover/pad (A) from the seat-back frame (B).






14. Pull back the edge of the seat-back cover all the way around, and release the upholstery rings (A), then remove the seat-back cover (B).






15. Remove airbag attachment wire B from the outside reinforcing cloths (C). Remove airbag attachment wire A from the inside reinforcing cloths (D), then remove the wires.






16. Install the cover in the reverse order of removal, and note these items:

- To prevent wrinkles when installing a seat-back cover, make sure the material is stretched evenly over the pad before securing the clips, the hooks, and the hook strips.
- Before installing the seat-back cover, make sure airbag attachment wires A and B are installed to the reinforcing cloths (C) correctly, and wires A and B are securely assembled.
- Replace all of the upholstery rings (D) fastening the seat-back cover (E) to the pad wires (F) with new ones using commercially available upholstery ring pliers (G).
- Use only original Acura replacement seat-back covers.
- Make sure the seat-back heater harness and the OPDS sensor harness (passenger's seat) are routed properly.
- Replace the back panel clips with new ones.