Curiosii for ever!: Car repair manuals for everyone.

Voice Activation Module: Service and Repair




HandsFreeLink Control Unit Removal/Installation

NOTE: Tell the client they need to write down all phone numbers as there is no way to transfer the information in the original HandsFreeLink control unit to a new HandsFreeLink control unit.

1. Remove the passenger's dashboard undercover Passenger's Dashboard Undercover Removal / Installation.

2. Remove the passenger's side kick panel.

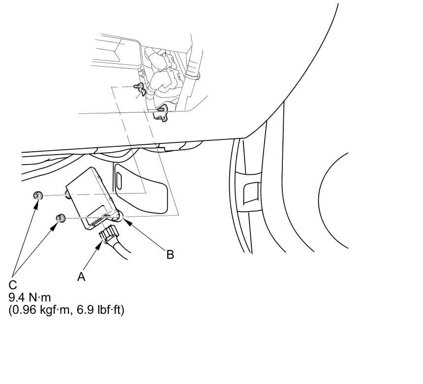
3. Disconnect the connector (A) from the HandsFreeLink control unit (B).





4. Remove the nuts (C) and the HandsFreeLink control unit.

5. Install the HandsFreeLink control unit in the reverse order of removal.