Curiosii for ever!: Car repair manuals for everyone.

Wiper Arm: Service and Repair




Wiper Arm Replacement

NOTE:

- Set the wiper arms to the auto-stop position before removal and installation.
- Always pull up the driver's side wiper blade first.

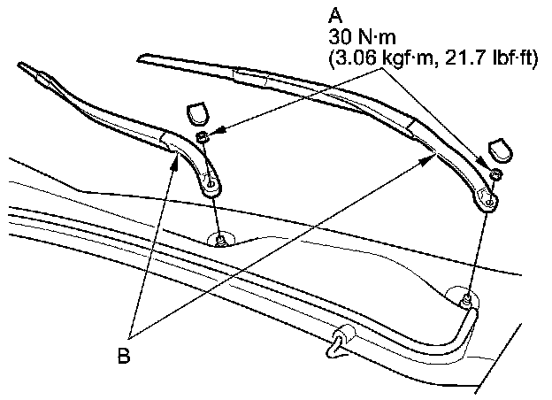
1. Open the hood. Remove the caps and nuts (A).






2. Remove the wiper arms (B).

3. Install the wiper arms in the reverse order of removal. After installation, adjust the wiper arms Adjustments.