Curiosii for ever!: Car repair manuals for everyone.

Back Window Glass: Service and Repair




Rear Fixed Glass Panel Replacement

NOTE:

- Wear eye protection while cutting the adhesive with a piano wire.
- Put on gloves to protect your hands.
- Use seat covers to avoid damaging the seat.

1. Remove these items:

- Glass rear gap seal
- Side seal, if required
- AM/FM/XM antenna Diagrams

2. If the original rear fixed glass panel will be reinstalled, make alignment marks across the panel and body with a grease pencil.

3. From inside the vehicle, remove the bolt securing the antenna bracket (A).






4. Apply protective tape along the edge of the body and along the upper molding on the upper rear window. Make a hole with an awl through the adhesive from inside the vehicle at the corner area of the rear fixed glass panel. Push a piece of piano wire through the hole, and wrap each end around a piece of wood.

5. With a helper on the outside, pull the piano wire (A) back and forth in a sawing motion. Hold the piano wire as close to the rear fixed glass panel (B) as possible to prevent damage to the body. Carefully cut through the adhesive (C) around the entire panel, and cut through the adhesive (D) bonding the antenna bracket (E).






Cutting positions





6. Carefully remove the rear fixed glass panel.

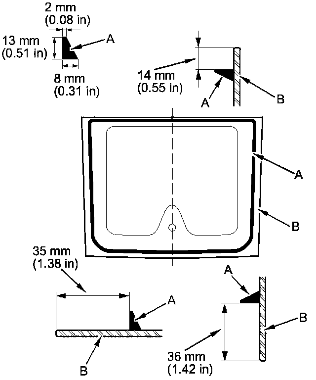
7. With a knife, scrape the original adhesive urethane path and hot melt patches smooth to a thickness of about 2 mm (0.08 in) on the bonding surface around the entire rear fixed glass panel opening flange. Do not scrape down to the painted surface of the body; damaged paint will interfere with proper bonding.

8. Clean the body bonding surface with a sponge dampened with isopropyl alcohol. After cleaning, do not allow oil, grease, and water to contact the clean surface.

9. If the original rear fixed glass panel will be reinstalled, scrape off the original adhesive urethane path and hot melt patches from the panel with a putty knife. Clean the inside face and the edge of the panel with isopropyl alcohol where new adhesive will be applied. Make sure the bonding surface is kept free of water, oil, and grease.

10. Scrape off the remaining double-sided adhesive tape from the antenna bracket, then clean the bracket surface with a sponge dampened with isopropyl alcohol. After cleaning, do not allow oil, grease, and water to contact the clean surface.

11. Apply the new double-sided adhesive tape (A) to the antenna bracket (B).






12. Apply glass primer to the area of the rear fixed glass panel (A) where the antenna bracket (B) will be attached, then attach the bracket to the panel.






13. Install the new glass rear gap seal to the rear fixed glass panel, and if required, install the new side seal.

14. Set the rear fixed glass panel (A) in the opening as shown. Make alignment marks (B) across the panel and body with a grease pencil at the four points.






15. Remove the rear fixed glass panel.

16. Apply a light coat of glass primer along the edge of the rear fixed glass panel (A) as shown, then let the primer dry for at least 10 minutes:

- Do not apply body primer to the panel, and do not get body and glass primer sponges mixed up.
- Never touch the primed surfaces with your hands. If you do, the adhesive may not bond to the panel properly, causing a leak after the panel is installed.
- Do not allow water, dust, and abrasive materials to contact the primed surfaces.





17. Carefully apply a light coat of body primer to any exposed paint or metal around the flange where new adhesive will be applied. Let the primer dry for at least 10 minutes:

- Do not apply body primer to any remaining original adhesive on the flange.
- Be careful not to mix up the body and glass primer sponges.
- Never touch the primed surfaces with your hands.





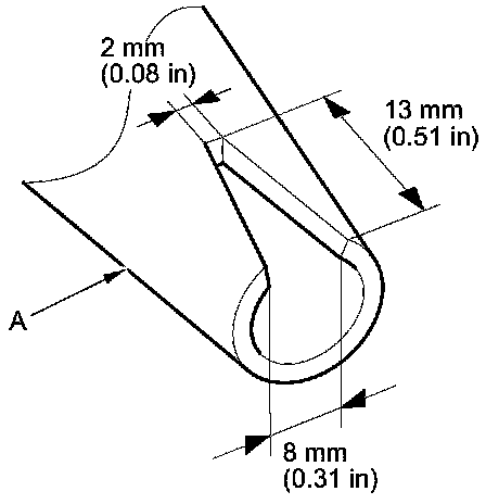
18. Cut a "V" in the end of the nozzle (A) on the adhesive cartridge as shown.






19. Pack adhesive into the cartridge without air pockets to ensure continuous delivery. Put the cartridge in a caulking gun, and run a bead of adhesive (A) along the edge of the rear fixed glass panel (B) as shown or along the original adhesive path on the housing:

- Apply the adhesive within 30 minutes after applying the glass primer.
- Make a slightly thicker bead at each corner.





20. Hold the rear fixed glass panel with suction cups over the opening, align it with the alignment marks made in step 14, and set it down on the adhesive. Lightly push on the panel until its edges are fully seated on the adhesive all the way around.

NOTE: Do not open or close the doors for about an hour until the adhesive is dry.

21. Scrape or wipe the excess adhesive off with a putty knife or shop towel. To remove adhesive from a painted surface or the rear fixed glass panel, wipe with a soft shop towel dampened with isopropyl alcohol.

22. Reinstall the bolt securing the antenna bracket.

23. Reinstall the AM/FM/XM antenna Diagrams.

24. After the adhesive has dried, spray water over the rear fixed glass panel and check for leaks. Mark leaking areas, and let the panel dry, then seal with sealant. Let the vehicle stand for at least 4 hours after panel installation. If the vehicle has to be used within the first 4 hours, it must be driven slowly.

25. Reinstall all remaining removed parts.

NOTE: Advise the client not to do the following things for 2 to 3 days:

- Slam the doors with all the windows rolled up.
- Twist the body excessively (such as when going in and out of driveways at an angle or driving over rough, uneven roads).