Curiosii for ever!: Car repair manuals for everyone.

BSI Radar Unit Aiming Inspection




BSI Radar Unit Aiming Inspection

Special Tools Required

- Rim Frame 07AAJ-STKA150
- Target Set 07AAJ-STKA160
- Angle Gauge 07AAJ-STKA170
- Stand Set 07AAJ-STKA220

Required Materials:

- Masking tape
- Fine-tip felt marking pen

Inspect the BSI radar unit aiming in these instances:

- After replacing or removing and reinstalling one or both of the BSI radar units.
- After repairing the body panel(s) where the BSI radar unit(s) mount.
- For any of the following aiming axis DTCs:
- B18B8: Left BSI Radar Unit Azimuth Off Alignment
- B18B9: Right BSI Radar Unit Azimuth Off Alignment

Before Inspection:

- Clean the surface of the BSI radar unit.
- Make sure the vehicle does not have aftermarket suspension.
- Make sure all the tires are the correct size, and set their pressures to the specifications shown on the doorjamb label.
- Make sure the fuel tank is full.
- Remove all cargo from the vehicle except the spare tire and tool kit.
- Park the vehicle on level ground (within 1 degree) with at least 13.1 ft (4 m) of space on both sides and behind the vehicle. Do not do this procedure with the vehicle on a lift or with the tires on steel plates or rollers.
- Make sure the steering wheel is pointed straight ahead, and do not turn it after parking the vehicle.
- Shift the transmission into P, and apply the parking brake.

1. Remove the rear bumper Service and Repair.

2. Set the target (A) on the stand set (B).





3. Set the target height by adjusting the rod to the same height as the dot (C) in the center of the BSI radar unit. Measure and note the height of the dot from the floor.

4. Hold the plumb line against the dot (A) on the radar unit, and lower the plumb bob until it touches the floor. Mark the floor at that point (B).






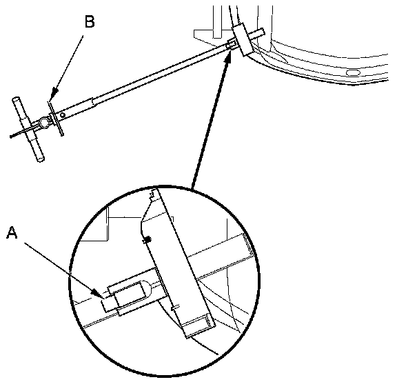
5. Place the rim frame (A) by the rear wheel on the side of the vehicle you are aiming. Adjust the spacers (B, C) to fit against the wheel rim to make the rim frame parallel with the wheel.






6. Assemble the two sections of the straightedge, then place the hole in the end of the straightedge over the mark on the ground that you made in step 4. Slide the rim frame rearward until the base of the rim frame and the straightedge meet as shown.

NOTE:

- Make sure the spacers are still touching the wheel rim.

- Set the straightedge according to the arrow (A).





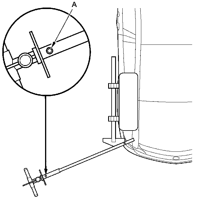
7. Place the target over the other end of the straightedge, and align the hole (A) in the base if the target with the hole in the end of the straightedge as shown.






8. Compare the radar unit height you measured in step 3 with the table to determine which degree setting to use on the angle gauge (A).









9. With the appropriate degree setting on the angle gauge up, set the angle gauge against the radar unit. Align the cutout in the angle gauge with the dot (B) on the radar unit.

10. Turn on the laser pointer (A), and set it on the angle gauge so that the beam shines on the target (B).

CAUTION
Do not aim the laser beam at anyone's eyes.






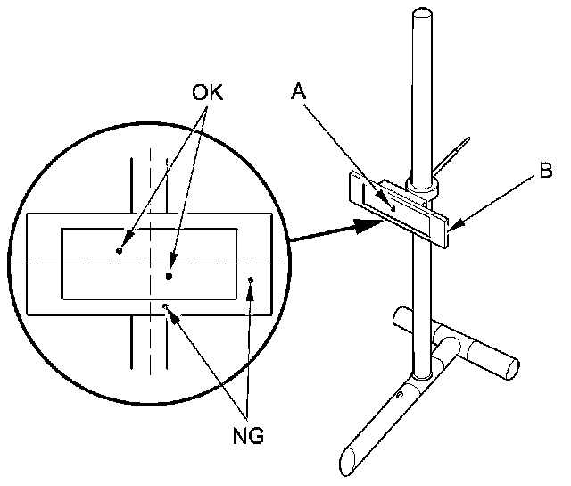
11. Check the point (A) where the laser beam hits the target (B):

- If the laser beam is within the target, the BSI radar unit is aimed properly, go to step 12.
- If the laser beam is out of the target range, check the BSI radar unit mounting area BSI Radar Unit Mounting Area Check.





12. Install all the rear bumper Service and Repair.