Relay Box: Testing and Inspection
Relay Circuit Board Test
The relay circuit board is part of the under-hood fuse/relay box, and it contains these relays:
- A/C condenser fan relay
- Fan control relay
- Wiper motor relay
- Wiper intermittent relay
- Wiper high/low relay
1. Do the battery terminal disconnection procedure.
2. Disconnect the under-hood fuse/relay box connectors B (14P) and D (10P).
3. Test each relay circuit as shown:
A/C condenser fan relay:
There should be continuity between terminals D1 and D4 when battery power is connected to terminal B7 (or B8), and battery ground is connected to terminal D10. There should be no continuity between terminals D1 and D4 when power is disconnected.
Fan control relay:
There should be continuity between terminals B1 and B11 when battery power is connected to terminal B2 (B9, or B10), and battery ground is connected to terminal D10. There should be continuity between terminals B11 and D4 when power is disconnected.
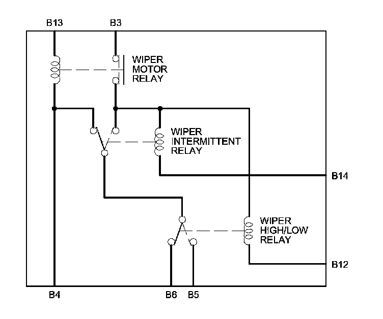
Wiper motor relay:
There should be continuity between terminals B3 and B12, and terminals B3 and B14 when battery power is connected to terminal B13, and battery ground is connected to terminal B4. There should be no continuity between terminals B3 and B12, and terminals B3 and B14 when power is disconnected.
Wiper intermittent relay:
There should be battery voltage at terminal B6 when battery power is connected to terminals B3 and B13, and battery ground is connected to terminals B4 and B14. There should be no voltage at terminal B6 when terminal B14 is disconnected.
Wiper high/low relay:
There should be battery voltage at terminal B5 when battery power is connected to terminals B3 and B13, and battery ground is connected to terminals B4, B12, and B14. There should be no voltage at terminal B5 when terminal B12 is disconnected.
4. If any of these relay circuits fail the test, replace the relay circuit board.
5. Reinstall all removed parts.
6. Do the battery terminal reconnection procedure.
A/C condenser fan relay, Fan control relay
Wiper motor relay, Wiper intermittent relay, Wiper high/low relay