Curiosii for ever!: Car repair manuals for everyone.

Traction Control Switch: Service and Repair




VSA Off Switch Test/Replacement

1. Turn the ignition switch to LOCK (0).

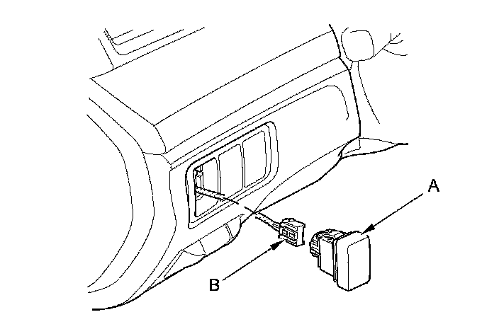
2. Push out the VSA OFF switch (A) from the back of the instrument panel.





3. Disconnect the VSA OFF switch 5P connector (B).

4. On the switch side, check for continuity between the VSA OFF switch 5P connector terminal in each switch position according to the table.





- If the switch does not work as described in the table, replace the switch.
- If the switch tests OK, go to step 5.

5. On the switch side, check for continuity between VSA OFF switch 5P connector terminals No. 4 and No. 5. There should be continuity at all times.






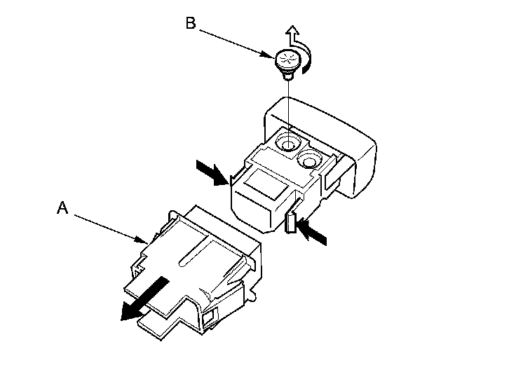
6. If the continuity is not as specified, remove the cover (A), and replace the bulb (B).





7. Install the VSA OFF switch in the reverse order of removal.